Herunterladen Inhalt Inhalt Diese Seite drucken

Stryker Power-LOAD Bedienungsanleitung Seite 497

Inhaltsverzeichnis
9. Mittaa paljastunut tasku lattialevyn pääpuolella ja jalkopäässä mittanauhaa käyttämällä lattialevyn suojien
muokkaamista varten.
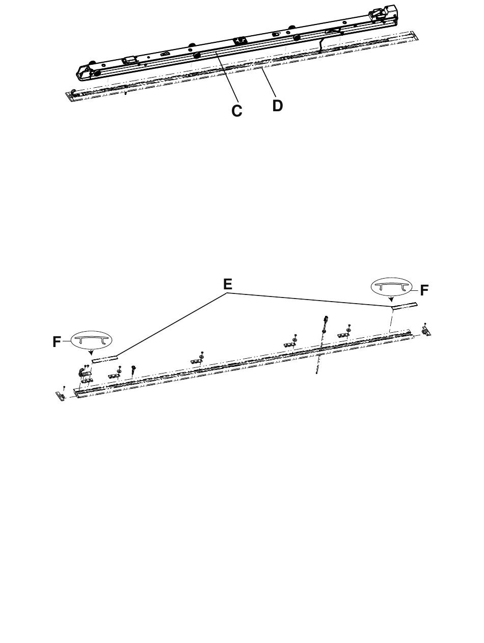
10. Käytä sahaa. Leikkaa kaksi lattialevyn suojaa (6390-001-166) (E) siten, että ne vastaavat mitattua pituutta molemmissa
päissä (Kuva 7). Lattialevyn suoja ei mahdu lattialevyn kiinnityspidikkeiden päälle.
H H u u o o m m a a u u t t u u s s - - Jos ankkuri kootaan lattialevyn jalkopään tai pääpuolen päälle, kyseisessä päässä ei tarvita lattialevyn
suojaa.
11. Käytä kumivasaraa. Naputtele jokainen lattialevyn suoja lattialevyyn (koukkupuoli (F) ensin).
H H u u o o m m a a u u t t u u s s - - Voit irrottaa lattialevyn suojan talttapäisellä ruuvimeisselillä suojan siltä puolelta, jossa on kohotettu
reuna.
12. Varmista, että ankkurin tiivisteet (G) asennetaan ankkuriyksikön uriin (Kuva 8). Jos ankkurin tiivisteitä ei ole asennettu,
työnnä ne takaisin ankkuriyksikön uriin.
6390-809-005 Rev AA.0
K K u u v v a a 6 6 – – A A n n k k k k u u r r i i y y k k s s i i k k k k ö ö j j a a l l a a t t t t i i a a l l e e v v y y - - y y k k s s i i k k k k ö ö
K K u u v v a a 7 7 – – L L e e i i k k k k a a a a l l a a t t t t i i a a l l e e v v y y n n s s u u o o j j a a t t
17
FI
Inhaltsverzeichnis
loading

Diese Anleitung auch für:

6390

Inhaltsverzeichnis