Herunterladen Inhalt Inhalt Diese Seite drucken

Ds1-Querverbindungen Mit T1 Channel Service Unit - Avaya Definity Bedienungsanleitung

Vorschau ausblenden Andere Handbücher für DEFINITY:
Inhaltsverzeichnis
DEFINITY ECS Release 9
Installation, Aufrüstungen und Erweiterungen für modulare
1
Gehäuse installieren und anschließen
Telefone und sonstige Anlageelemente installieren und verdrahten

DS1-Querverbindungen mit T1 Channel Service Unit

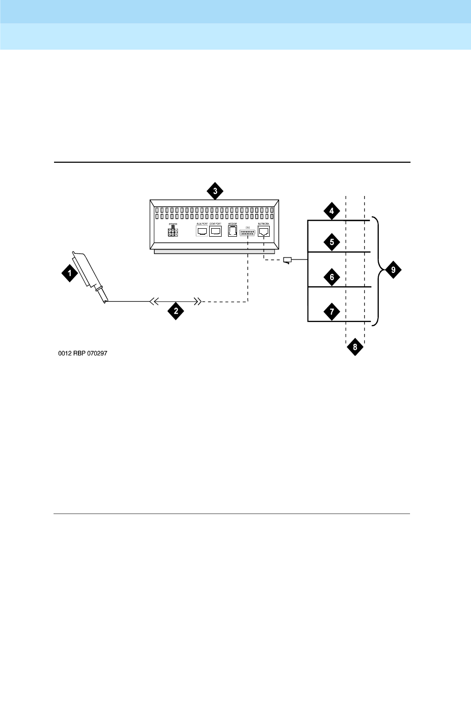
Bild 1-35
angeschlossene DS1-Querverbindung. Statt der externen T1 CSU können Sie
auch eine erweiterte Integrated Channel Service Unit (ICSU) 120A2 verwenden.
Die CSU bzw. ICSU wird über ein Digital Service Interface mit 1,544 MBit/sek mit
den DS1-Querverbindungen gekoppelt. Die maximalen Kabellängen erfragen Sie
bitte bei Ihrer Lucent Technologies-Vertretung.
Bildlegende
1. Zur DS1-Querverbindungsbaugruppe
2. C6C-Kabel (bei Entfernungen von
mehr als 15,24 m C6E-Kabel
benutzen)
3. Externe T1 CSU bzw. 120A2 ICSU
4. a-Ader (T)
Bild 1-35. Typischer Anschluss an der Channel Service Unit
zeigt eine an eine externe T1 Channel Service Unit (CSU)
5. b-Ader (R)
6. a-Ader 1 (T1)
7. b-Ader 1 (R1)
8. T1-Schnittstelle mit 1,544 MBit/sek
9. Zum T1-Baugruppenträger
Ausgabe 2
November 2000
1-72
Inhaltsverzeichnis
loading

Inhaltsverzeichnis