Herunterladen Inhalt Inhalt Diese Seite drucken
Inhaltsverzeichnis
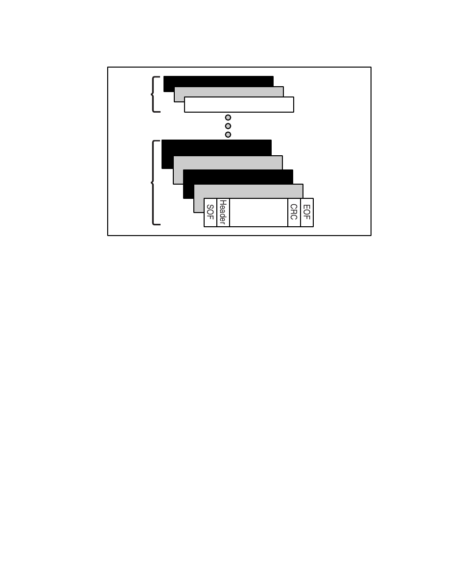
Abbildung D-4 zeigt die Struktur einer Datenübertragung über Fibre
Channel-Kabel.
Austausch
Sequenz
Abbildung D-4. Struktur einer Datenübertragung über Fibre Channel-Kabel

Protokollebenen

Der Fibre Channel-Standard umfasst fünf Protokollebenen. Sie werden mit
FC-0 bis FC-4 bezeichnet.
FC-0 definiert die physischen Merkmale der verwendeten Schnittstelle. Sie
enthält außerdem Informationen über den Kabeltyp, die Anschlüsse, die
Treiber sowie über Sender (Kurzwellen- und Langwellen-Laser) und
Empfänger.
FC-1 definiert die 8B/10B-Codierung/Decodierung und das für die serielle
Übertragung erforderliche Übertragungsprotokoll für die Übereinstimmung
der Daten mit der Systemuhr.
FC-2 definiert die Framing- und Signalprotokollebene. Sie definiert außerdem,
wie die Daten über das Fibre Channel-Kabel übertragen werden. Die Frames
sind sichtbar, der Datenfluss nicht.
FC-3 unterstützt allgemeine Dienste. In dieser Ebene werden die
Transportanforderungen an alle FC-4-Module erzeugt.
FC-4 unterstützt das Abbilden der höheren Protokollebenen (SCSI-Protokoll)
auf den niedrigeren Fibre Channel-Ebenen.
Sequenz 3
Sequenz 2
Sequenz 1
Daten
Fibre Channel-Technologie D-9
Fibre Channel-
Frame
Inhaltsverzeichnis
loading

Inhaltsverzeichnis