Herunterladen Inhalt Inhalt Diese Seite drucken

KSB mini-Compacta series Betriebsanleitung Seite 21

Überflutbare fäkalienhebeanlagen
Inhaltsverzeichnis
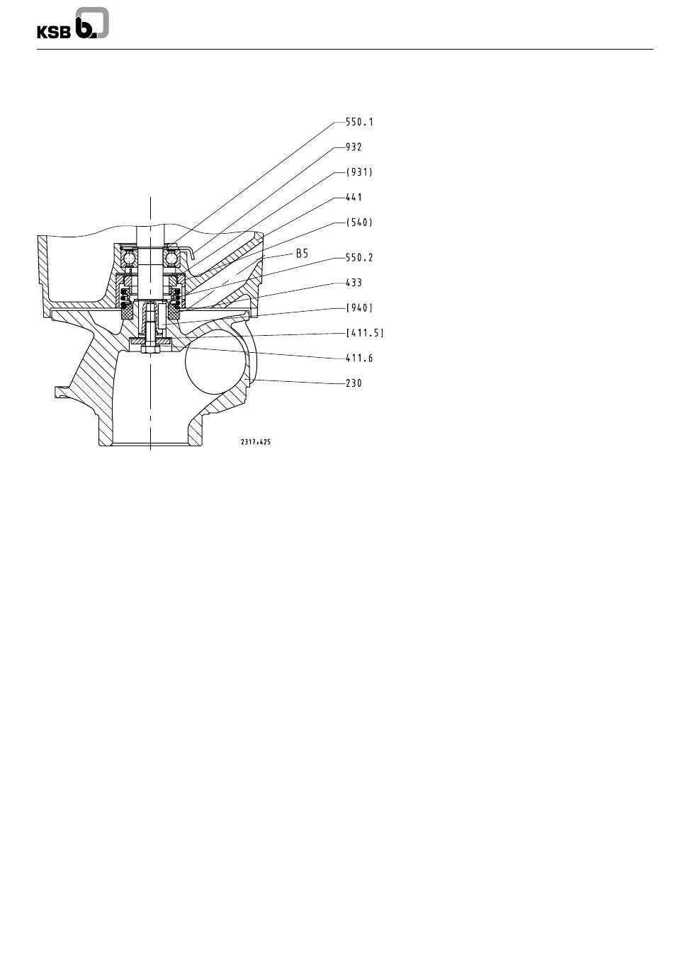
Roterend gedeelte U 7 C / UZ 7 C
Onderdeelnr. Benaming
01-44
Roterend gedeelte
113
Tussenhuis
230
Waaier
321/.1/.2
Groefkogellager
411.3-.6
Pakking
412.1-.3
O-ring
421.11/.12
Asafdichtingsring
433
Mechanische
asafdichting
441
Afdichtingshuis
474.1
Drukring
540
Bus
550.1/.2
Steunring
552
Spanring
591
Reservoir
683.1
Kap
81-1
Motordeel
81-17.1
Eindhuls
81-43
Aansluitring
81-59
Stator
81-74
Drukbout
811
Motorhuis
818
Rotor
824.1
Kabel
834.1
Kabeldoorvoer
900.11/.12
Lenskopschroef
901.1
Zeskantbout
903
Afsluitplug
914.1
Inbusbout
930
Borgring
931
Borgplaatje
932
Borgring
940
Spie
99-15.1
Smeervet
B5
Ontluchting
mini-Compacta U / UZ
63

Quicklinks ausblenden:

Inhaltsverzeichnis
loading

Inhaltsverzeichnis