Herunterladen Inhalt Inhalt Diese Seite drucken

Butler LIBRAK380 Betriebsanleitung Seite 67

Inhaltsverzeichnis
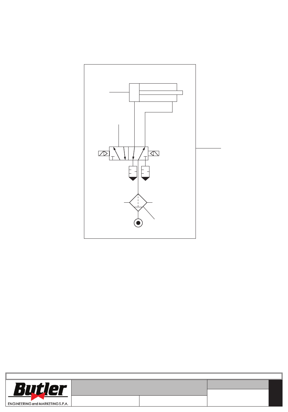
LEGENDE
1 – Pneumatische Klemmung Schema
2 – Klemmungsantriebzylinder
3 – 5/2 NC Elektroventil
4 – Trennfilter
2
3
LIBRAK380P - LIBRAK380PS - LIBRAK380PW - LIBRAK380PWS
PNEUMATISCHES
ANSCHLUSS-SCHEMA
Tafel N°B - Rev. 0
4
129600170
1
1297-M003-3_B
Seite 67 von 67
D
Inhaltsverzeichnis
loading

Inhaltsverzeichnis