Herunterladen Inhalt Inhalt Diese Seite drucken

ProMinent Splash Control 2 Montage- Und Betriebsanleitung Seite 44

Schwimmbadregler
Inhaltsverzeichnis
Bedienen und Bedienoberfläche
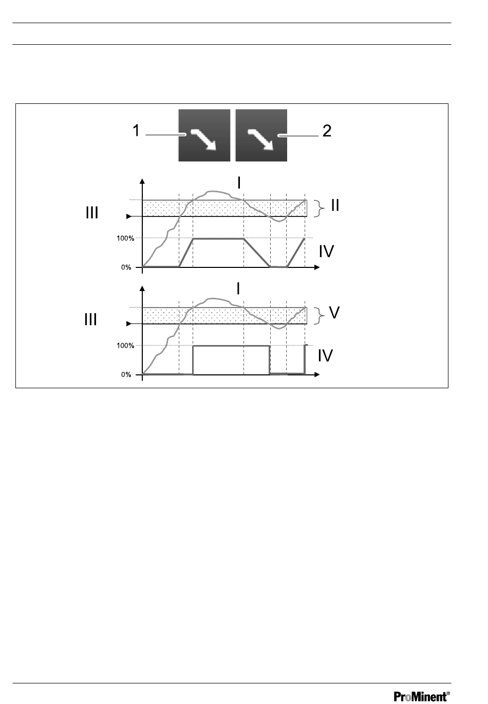
pH-Messkanal im Downstream-Modus
Abb. 26: pH-Messkanal im Downstream-Modus
1
Proportional-Wert, z. B. 0,20 pH
2
Hysterese-Wert, z. B. 0,20 pH
I
Messen
II
Proportionalbereich
Wenn die Dosierrichtung des pH-Messkanals im Downstream-Modus konfiguriert ist, dann wird in
Abhängigkeit von der zuvor gewählten Regelungsart mit dieser Taste der Wert des Proportional‐
bandes (1) oder der Hysteresewert (2) ausgewählt.
Wenn im Proportionalmodus der Fehler (Sollwert-Messwert) gleich dem Proportionalbereich (II) ist,
dann beträgt die Regelanforderung 100 %. Mit der Reduzierung des Wertes des Proportionalbandes
erhöhen Sie die Dosiersteuerung für den gleichen Messwert.
Wenn im Hysteresemodus der Fehler (Sollwert-Messwert) größer als der Hysteresewert (V) ist,
dann beträgt die Regelanforderung 100 %.
44
Proportional-
Hysterese-
Wert
Wert
III
Sollwert
IV
Pumpenbefehl
V
Hysterese
A2823
Inhaltsverzeichnis
loading

Inhaltsverzeichnis