Anmelden
Hochladen
Herunterladen
Inhalt
Inhalt
Zu meinen Handbüchern
Löschen
Teilen
URL dieser Seite:
HTML-Link:
Lesezeichen hinzufügen
Hinzufügen
Handbuch wird automatisch zu "Meine Handbücher" hinzugefügt
Diese Seite drucken
×
Lesezeichen wurde hinzugefügt
×
Zu meinen Handbüchern hinzugefügt
Anleitungen
Marken
Brainlab Anleitungen
Monitore
BUZZ
Technisches planungshandbuch
Brainlab BUZZ NAVIGATION Technisches Planungshandbuch Seite 28
Vorschau ausblenden
Andere Handbücher für BUZZ NAVIGATION
:
Technisches planungshandbuch
(130 Seiten)
,
System- und technisches benutzerhandbuch
(120 Seiten)
,
Technisches planungshandbuch
(76 Seiten)
1
2
Inhalt
3
4
5
6
7
8
9
10
11
12
13
14
15
16
17
18
19
20
21
22
23
24
25
26
27
28
29
30
31
32
33
34
35
36
37
38
39
40
41
42
43
44
45
46
47
48
49
50
51
52
53
54
55
56
57
58
59
60
61
62
63
64
65
66
67
68
69
70
71
72
73
74
75
76
77
78
79
80
81
82
83
84
85
86
87
88
89
90
91
92
93
94
95
96
97
98
99
100
101
102
103
104
105
106
107
108
109
110
111
112
113
114
115
116
117
118
119
120
121
122
123
124
125
126
127
128
129
130
131
132
133
134
Seite
von
134
Vorwärts
/
134
Inhalt
Inhaltsverzeichnis
Lesezeichen
Inhaltsverzeichnis
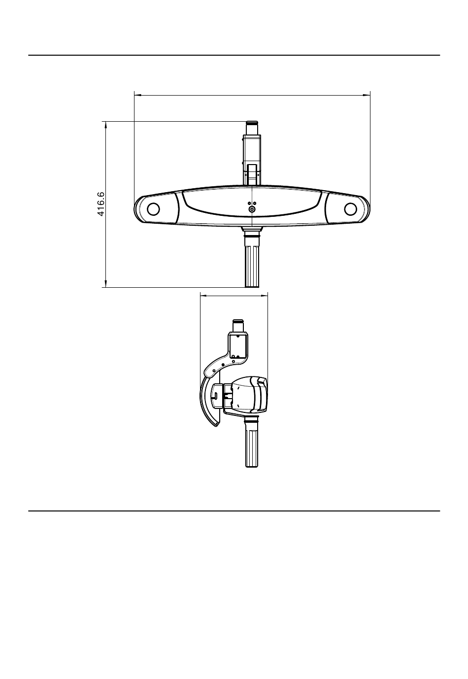
CM-Kamera
Abmessungen der CM-Kamera
591.2
190.7
Abbildung 12
Weiterführende Links
Physikalische Spezifikationen auf Seite 72
28
Technisches Planungshandbuch Aufl. 1.1 Buzz Navigation (Ceiling-Mounted) Version 1.0
Inhalt
sverzeichnis
Vorherige
Seite
Nächste
Seite
1
...
25
26
27
28
29
30
31
32
Inhaltsverzeichnis
Verwandte Anleitungen für Brainlab BUZZ NAVIGATION
Laborzubehör & Laborgeräte Brainlab BUZZ NAVIGATION Technisches Planungshandbuch
(130 Seiten)
Laborzubehör & Laborgeräte Brainlab BUZZ NAVIGATION System- Und Technisches Benutzerhandbuch
(120 Seiten)
Medizinische Ausstattung Brainlab BUZZ Technisches Planungshandbuch
(102 Seiten)
Medizinische Ausstattung Brainlab BUZZ System- Und Technisches Benutzerhandbuch
(94 Seiten)
Medizinische Ausstattung Brainlab BUZZ System- Und Technisches Benutzerhandbuch
Version 2.0 (90 Seiten)
Laborzubehör & Laborgeräte Brainlab BUZZ Technisches Planungshandbuch
Version 2.0 (76 Seiten)
Verwandte Produkte für Brainlab BUZZ NAVIGATION
Brainlab 18070
Brainlab 18078
Brainlab 18090
Brainlab 49703
Brainlab AIRO
Inhaltsverzeichnis
Drucken
Lesezeichen umbenennen
Lesezeichen löschen?
Möchten Sie es aus Ihren Handbüchern löschen?
Anmelden
Anmelden
ODER
Mit Facebook anmelden
Mit Google anmelden
Anleitung hochladen
Von PC hochladen
Von URL hochladen