Herunterladen Inhalt Inhalt Diese Seite drucken

Einpedalbedienung - Linde R14X Betriebsanleitung

Elektrischer schubstapler
Inhaltsverzeichnis
3
Fahrzeug kennenlernen
Bedienungselemente und Anzeigen

Einpedalbedienung

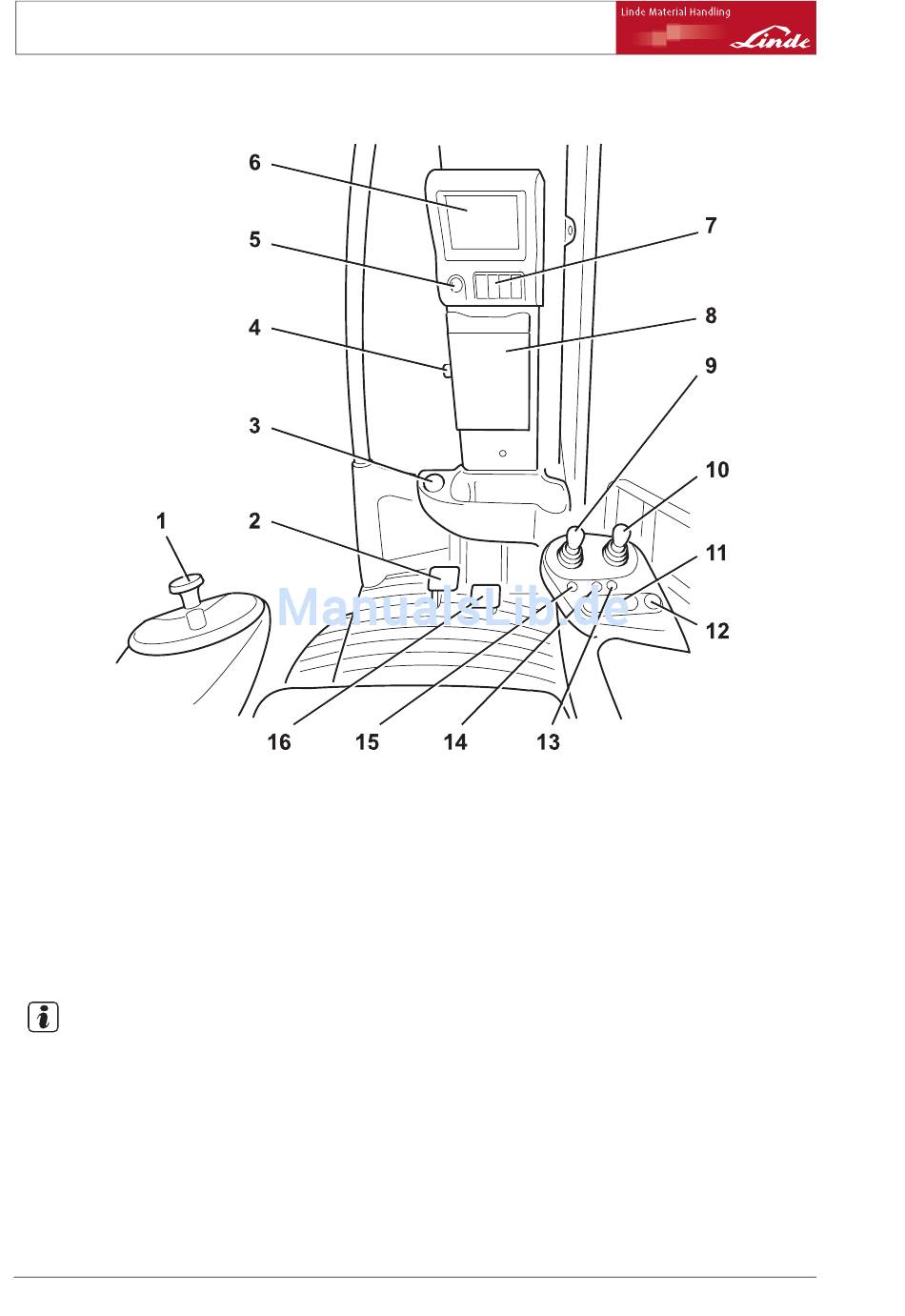
1
Lenkrad
2
Bremspedal
3
Not-Aus-Schalter
4
Handrad zum Verstellen der Konsole
(Sonderausrüstung)
5
Schlüsselschalter
6
Bedieneranzeige
7
Zubehörschalter (Sonderausrüstung)
8
Klemmbrett (Sonderausrüstung)
HINWEIS
Alternative Joystick-Konfigurationen sind
möglich.
18
9
Joystick für Hub und Schub
10
Joystick für Seitenschub
11
Richtungsschalter
12
Hupenknopf
13
Automatische Seitenschubzentralisierung
(Sonderausrüstung)
14
Gabelhöhenautomatik (Sonderausrüstung)
15
Feststellbremse
16
Gaspedal
Betriebsanleitung – 116 807 10 00 DE – 07/2007
116-03

Quicklinks ausblenden:

Inhaltsverzeichnis
loading

Diese Anleitung auch für:

R17xhdR16xR17x

Inhaltsverzeichnis