Herunterladen Inhalt Inhalt Diese Seite drucken

SystemAir F-B90 Bedienungsanleitung Seite 53

Eckige brandschutzklappe in lamellenform - 140mm bautiefe
Inhaltsverzeichnis
53/67 |
F-B90
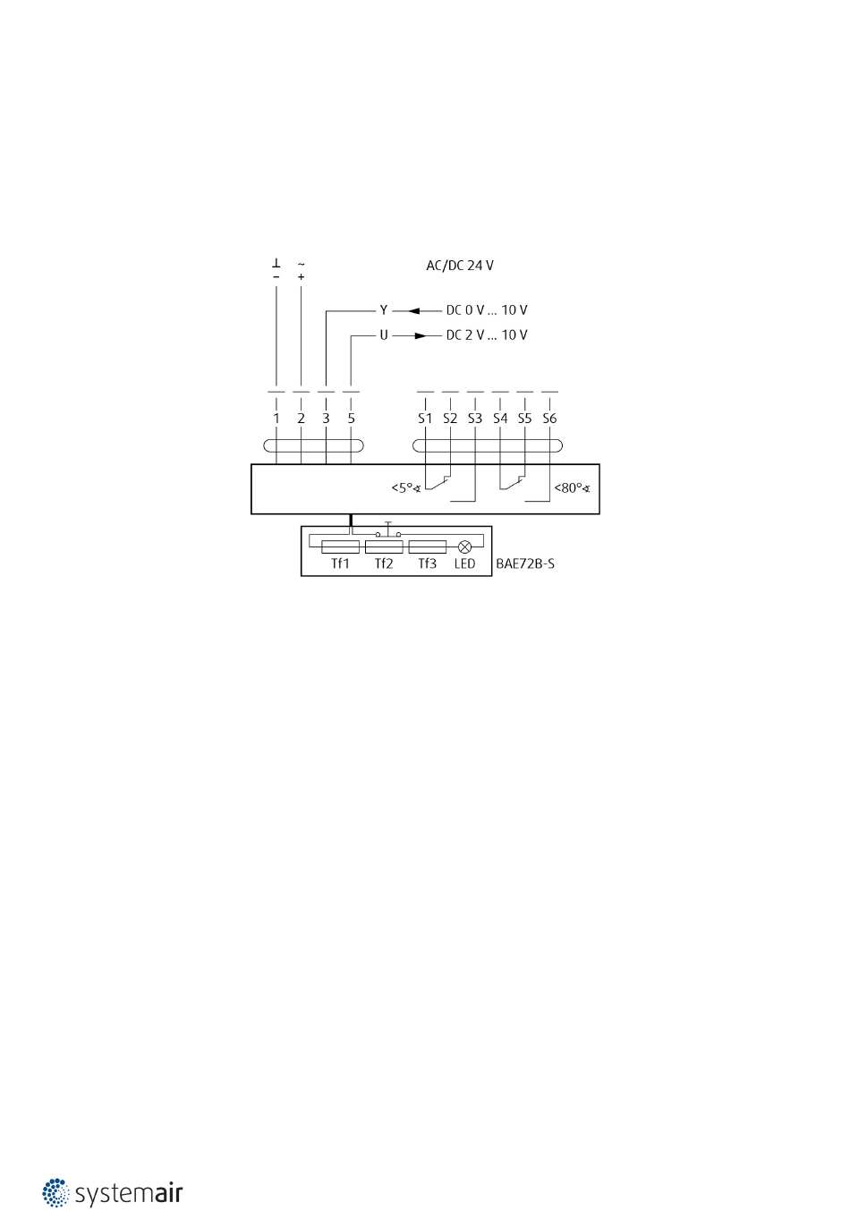
Auslösungsart B24T-SR
WICHTIG! Gefahr eines Stromschlags!
Schalten Sie die Stromversorgung aus, bevor Sie Arbeiten an elektrischen Geräten ausführen.
Nur qualifizierte Elektriker dürfen Arbeiten am elektrischen System ausführen.
Leistungsaufnahme beachten.
ANMERKUNGEN:
• Spannungsversorgung über Sicherheitstransformator.
• Leistungsaufnahme beachten!
Legende
1 blaues Kabel
2 braunes Kabel
3 weißes Kabel
5 orangefarbenes Kabel
S1 violettes Kabel
S2 rotes Kabel
S3 weißes Kabel
S4 orangefarbenes Kabel
S5 pinkfarbenes Kabel
S6 graues Kabel
Tf Thermosicherung

Quicklinks ausblenden:

Inhaltsverzeichnis
loading

Inhaltsverzeichnis