Herunterladen Inhalt Inhalt Diese Seite drucken

Montagehinweise Für Das Deskline ® Db6 System - Linak Db5 Montageanleitung

Inhaltsverzeichnis
Montagehinweise für das DESKLINE
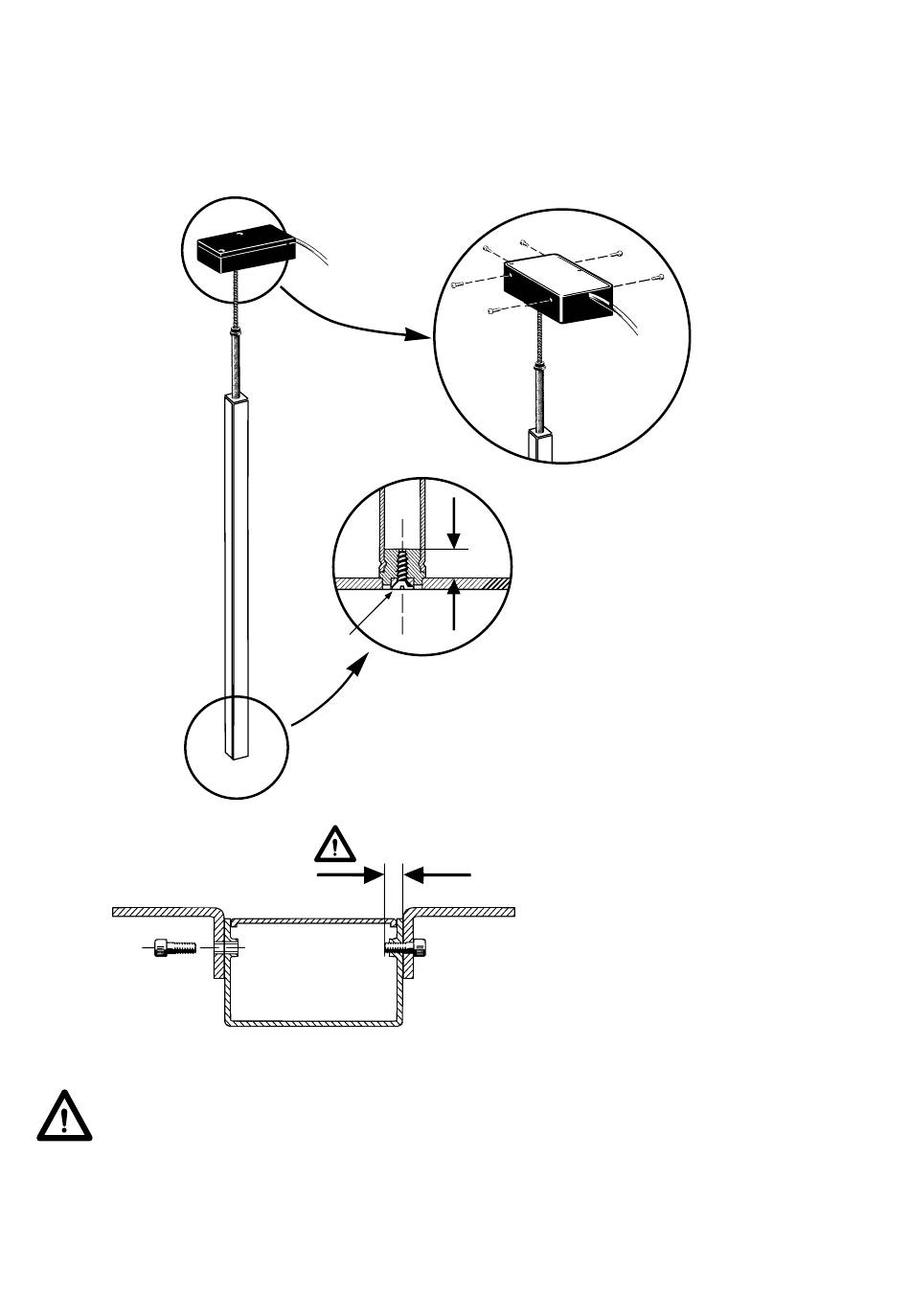
Das Motorgehäuse wird mit sechs vorgebohrten Löchern für M6-Gewindeschrauben geliefert, die zur Befestigung
am Tischrahmen dienen. Wir empfehlen, alle sechs vorgebohrten Gewindelöcher für M6-Gewindeschrauben zu
nutzen. Die Schrauben sollten von guter Qualität sein, eine angemessene Länge haben und nicht tiefer als 10 mm
ins Motorgehäuse gebohrt werden. Das Anzugsmoment von 7,5 Nm darf nicht überschritten werden.
Es ist wichtig, dass die korrekten Schrauben verwendet werden.
Überprüfen Sie, ob die Schrauben richtig befestigt wurden, um zu vermeiden, dass die Führungen ausei-
nanderfallen, wenn der Tisch verfahren wird.
®
Kolbenstangenauge aus Kunststoff
Max.
Anzugs-
moment:
selbstschnei-
6 Nm
dende Kunststoff-
schrauben Typ K50
Max. 10 mm
DB5/DB6
Motorgehäuse
Seite 14 von 32
DB6 System
6 x M6
Max. Anzugs-
moment: 7,5 Nm
Max. 11 mm
Min. 9 mm
Abbildung 3
(Montagebeispiel DB6)
Inhaltsverzeichnis
loading

Diese Anleitung auch für:

Db6Dl2

Inhaltsverzeichnis