Herunterladen Inhalt Inhalt Diese Seite drucken

RAVAGLIOLI RAV516NL Handbuch Seite 70

Elektrohydraulische hebebühne
Vorschau ausblenden Andere Handbücher für RAV516NL:
Inhaltsverzeichnis
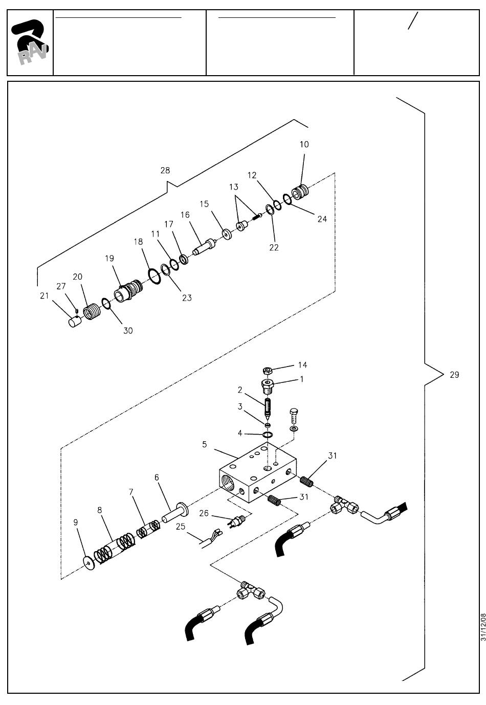
Denominazione tavola - Table definition
VALVOLA DI ALLINEAMENTO PEDANE
FOOTBOARD ALIGNMENT VALVE UNIT
70
Valida per i modelli - Apply to models
RAV516 NL - RAV516 NLI
RAV518 NL - RAV518 NLI
RAV518 Q - RAV518 QI
0579 - M030-2
N°tavola
Indice di modifica
Table no
Change index
5/
1

Quicklinks ausblenden:

Inhaltsverzeichnis
loading

Inhaltsverzeichnis