Herunterladen Inhalt Inhalt Diese Seite drucken

Montagezeichnung - Lg Multi Montageanleitung

Vorschau ausblenden Andere Handbücher für MULTI:
Inhaltsverzeichnis
Montage

Montagezeichnung

Nachträglich zu erwerbende Montagebauteile.
HINWEIS
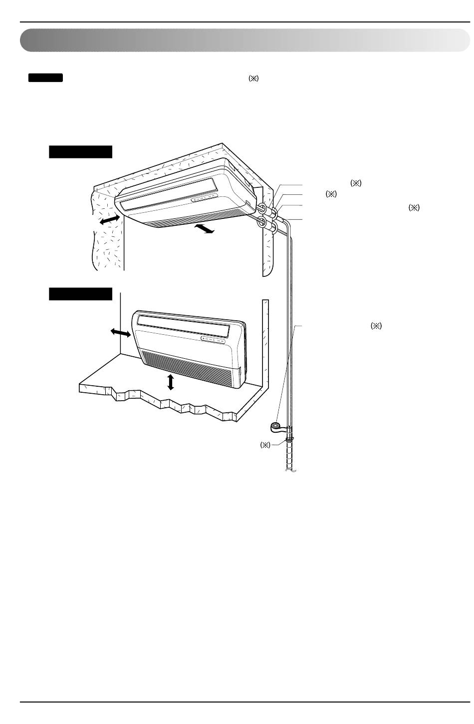
Deckenmontage
Mehr als
20cm
(Linke u. rechte
Seite identisch)
Wandmontage
Mehr als
20cm
(Linke u. rechte
Seite identisch)
10 Raumklimagerät (Konvertible- Raumklimagerät für Decken oder Wandmontag)
Zwischen Decke und Gerät
sollte kein Abstand sein.
Mehr als 5cm
Mehr als 5cm
Schelle
Manschette
Muffe
Kitt (gummiartige Dichtung)
Das Rohr möglichst nah an der
Wand verlegen. Das Rohr nicht
durchbrechen.
Klebeband (breit)
• Um den Abfluss zu prüfen,
entfernen Sie die Luftfilter und
gießen Sie Wasser in den
Wärmetauscher.
• Nach der Abflussprüfung
befestigen.

Quicklinks ausblenden:

Inhaltsverzeichnis
loading

Inhaltsverzeichnis