Herunterladen Inhalt Inhalt Diese Seite drucken

Accu-Chek Inform II System Benutzerhandbuch Seite 71

Vorschau ausblenden Andere Handbücher für Inform II System:
Inhaltsverzeichnis
Daten zu Teststreifen, Kontroll-Lösungen und Linearitätslösungen im Gerät speichern
Kontrollchargen
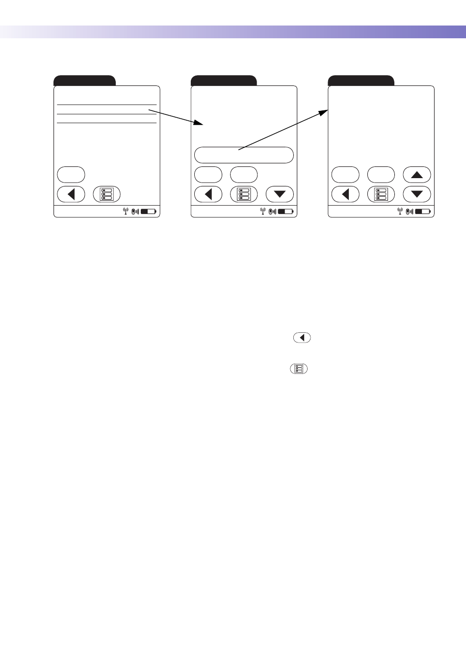
12:48
Typ
Verf.-Datum Charge
* QC L2 15.06.10
777678
QC L1
31.12.09
777732
QC L2
15.06.10
777723
Hinzuf.
14.08.09
Details K-Charge
12:48
Kontrollcharge: 777732
Kontrollstufe: 1
Haltbar bis 31.12.09
Als aktuell definieren
Bearb.
Lösch.
14.08.09
3
Tippen Sie auf die Chargennummer, die Sie als
aktuelle Chargennummer auswählen möchten. Die
zugehörige Detailanzeige wird geöffnet.
4
Tippen Sie auf Als aktuell definieren, um diese Char-
gennummer als aktuelle Chargennummer festzule-
gen. In der Detailanzeige wird daraufhin die
Information Aktuell angezeigt.
5
Tippen Sie auf
nummern zurückzukehren, oder
6
tippen Sie auf
kehren.
Details K-Charge
Kontrollcharge: 777732
Kontrollstufe: 1
Haltbar bis 31.12.09
Aktuell
Bearb.
Lösch.
14.08.09
, um zur Liste der Chargen-
, um zum Hauptmenü zurückzu-
12:48
71

Quicklinks ausblenden:

Inhaltsverzeichnis
loading

Inhaltsverzeichnis