Herunterladen Inhalt Inhalt Diese Seite drucken

Warmluft-Impulsblassystem Mit Systemeinheit Vakuum - Mafac Java Betriebsanleitung

Inhaltsverzeichnis
4
2
5
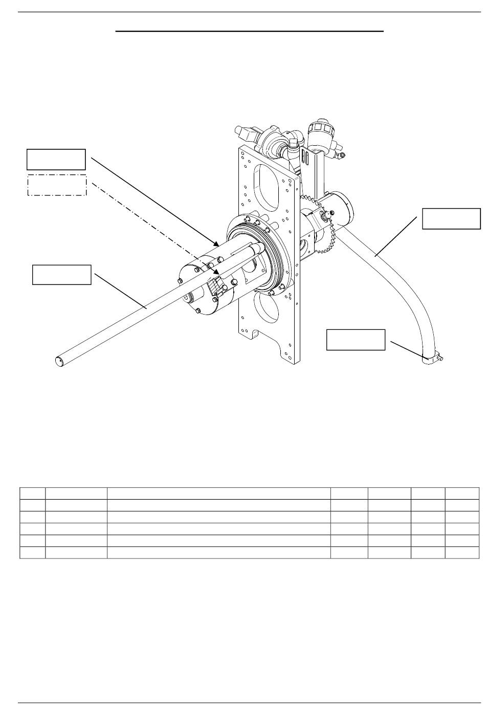
Pos.: MAFAC-Nr.: Benennung
1
20000132
Schlauch
2
30007525
O-Ring
3
30006919
Schlauchschelle
4
30058443
Systemeinheit-V
5
30040943
Blasrohrsystem
17.115.944

Warmluft-Impulsblassystem mit Systemeinheit Vakuum

93
Ersatz- und Verschleißteile
3
Menge
Einheit
E/V
800
mm
1
Stück
2
Stück
1
Stück
1
Stück
0816©MAFAC
1
WR
E
V
E
E
E
Inhaltsverzeichnis
loading

Inhaltsverzeichnis