Herunterladen Inhalt Inhalt Diese Seite drucken

MAFAC JAVA Betriebsanleitung Seite 33

Inhaltsverzeichnis
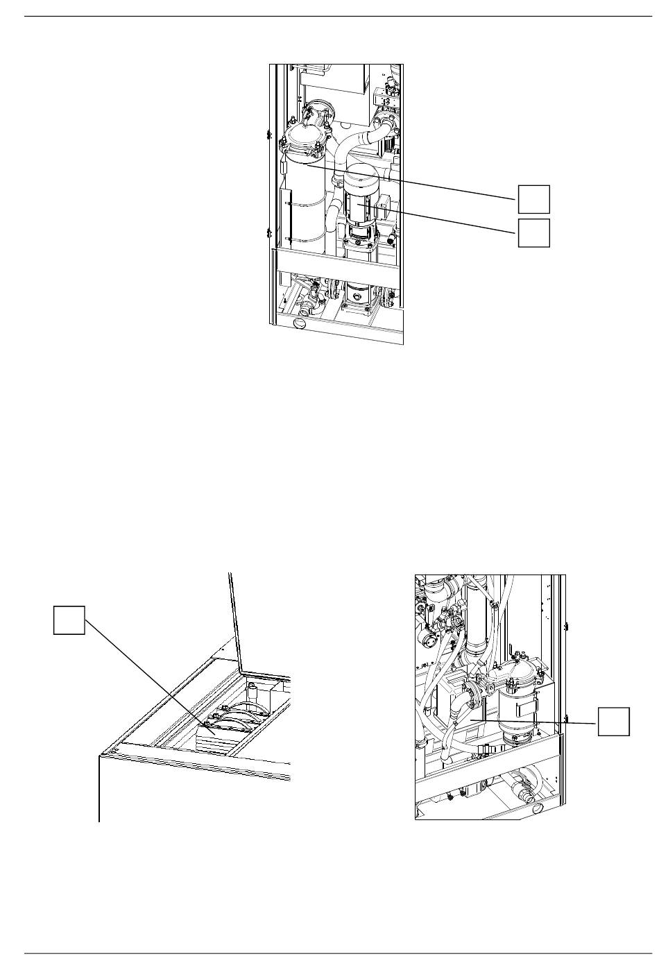
Pumpensystem & Hauptstrom-Filtration
1
Vertikal-Kreiselpumpe
2
Filter/Feinstfilter
Zum Transport und zur Filtration der Reinigungsmedien von den Tanks in die Reinigungskammer
werden verschiedene Pumpen- 1 und Filtrationssysteme 2 eingesetzt. Diese können, je nach Anzahl
der Mediumtanks, mehrmals in der Maschine verbaut sein. Die Baugröße und die Typen der Systeme
können dabei je nach Anforderung variieren.
Koaleszenzabscheider
1
1
Koaleszenzpaket
2
Ölauffangbehälter des Koaleszenzabscheiders
17.115.944
Abb.: Pumpensystem & Hauptstrom-Filtration
Abb.: Koaleszenzabscheider
33
Aufbau und Funktion
2
1
2
0816©MAFAC
Inhaltsverzeichnis
loading

Inhaltsverzeichnis