Herunterladen Inhalt Inhalt Diese Seite drucken

RAVAGLIOLI RAV540 Übersetzung Der Originalanleitung Seite 70

Elektrohydraulische hebebühne
Vorschau ausblenden Andere Handbücher für RAV540:
Inhaltsverzeichnis
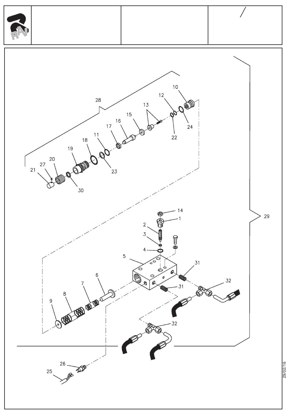
Denominazione tavola - Table definition
VALVOLA DI ALLINEAMENTO
PEDANE
FOOTBOARD ALIGNMENT
VALVE UNIT
70
Valida per i modelli - Apply to models
RAV540 - RAV540 I
RAV540 MB - RAV540 IMB
0579-M070-0
N°tavola
Indice di modifica
Change index
Table no
5/
0
Inhaltsverzeichnis
loading

Diese Anleitung auch für:

Rav540 iRav540 mbRav540 imb

Inhaltsverzeichnis