Herunterladen Inhalt Inhalt Diese Seite drucken
Inhaltsverzeichnis

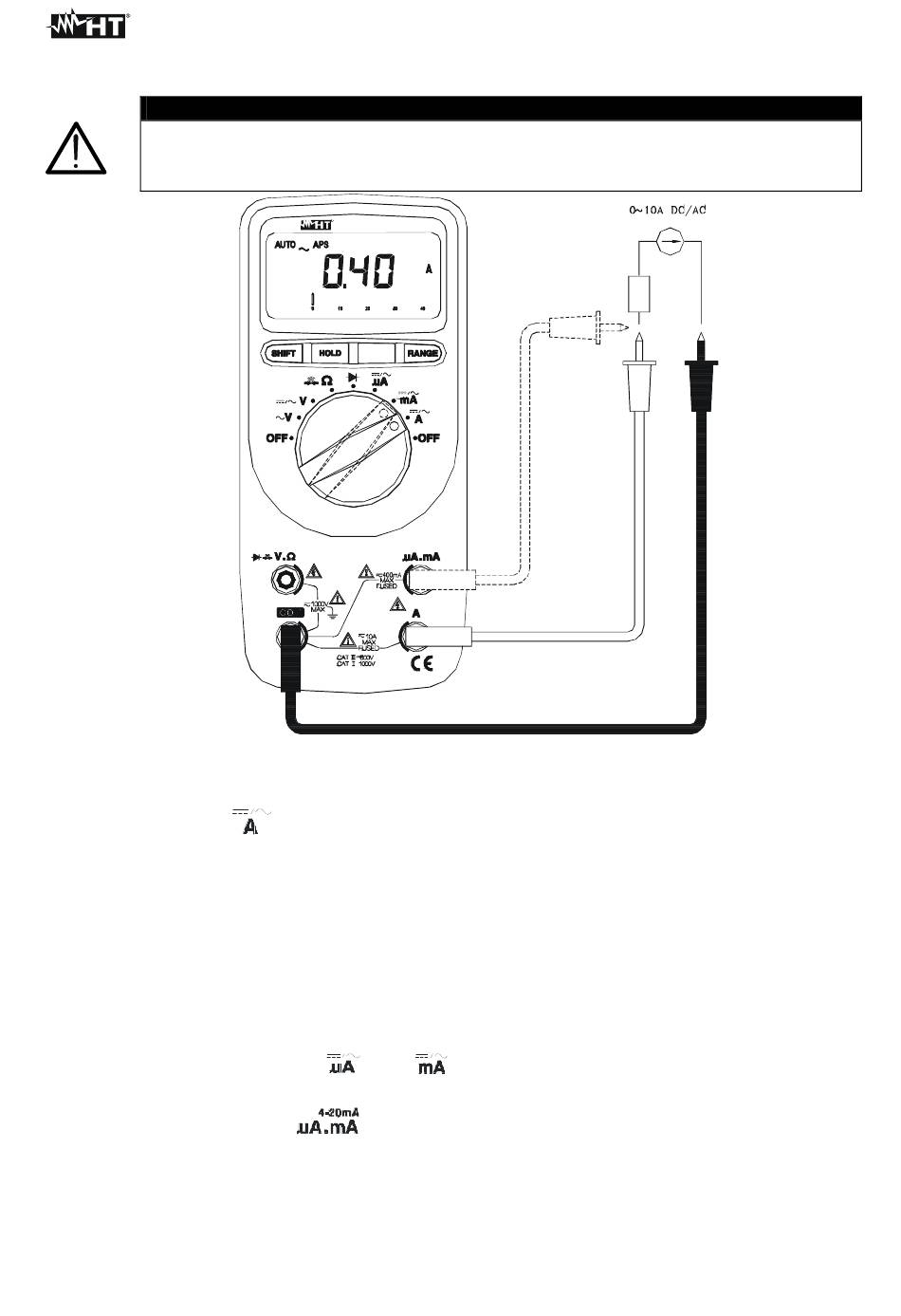
4.4.5. DC Strommessung

ACHTUNG
Max. Eingangsstrom DC 10A. Versuchen Sie keinen Strom zu messen, der
höher ist. Es besteht die Gefahr eines Stromschlages und das Multimeter
könnte zerstört werden.
1. Schalten Sie die Spannung ab und schließen Sie dann erst Ihr Messgerät an!
2. Wählen Sie diese
3. Verbinden Sie die rote Messleitung mit der A Buchse, die Schwarze mit der COM
Buchse (
Reihe mit dem zu messenden Strom an und achten Sie auf die Polarität.
4. Schalten Sie nun den zu überprüfenden Stromkreis wieder ein. Die Stromstärke wird
nun angezeigt. Die Anzeige "OL." Gibt an, dass der Strom größer ist als der Messbereich
des Instruments. Entfernen Sie die Messleitungen vom Messobjekt sonst könnte das
Multimeter bzw. die interne Sicherung eventuell zerstört werden. Ist die zu messende
Größe unter 400mA, dann folgen Sie bitte diesen Anweisungen:
• Schalten Sie die Spannung ab und schließen Sie dann erst Ihr Messgerät an!
• Schalten Sie in die
• Entfernen Sie die rote Messleitung von der A Buchse, und verbinden Sie die
Messleitung mit
• Schalten Sie nun den zu überprüfenden Stromkreis wieder ein
Das Symbol "-" im Display zeigt an, dass der Strom in negative Richtung fließt. Ändern Sie
den Messaufbau wie in Bild
Für die Anwendung der HOLD-Funktion sehen Sie bitte unter Kapitel 4.2. nach.
HT 570
DIGITAL MULTIMETER
Abb. 6: DC Strommessung
Schalterstellung.
Abb. 6). Schließen Sie die rote und die schwarze Messleitung in
oder
Buchse.
Abb. 6. angezeigt ab.
DE - 14
die Schalterstellung.
HT570
Inhaltsverzeichnis
loading

Inhaltsverzeichnis