Herunterladen Diese Seite drucken

steute RF RW SW868-NET Montage- Und Anschlussanleitung Seite 8

Regalsensor
Vorschau ausblenden Andere Handbücher für RF RW SW868-NET:
RF RW SW868/915/917/922-NET(-ESD)
//
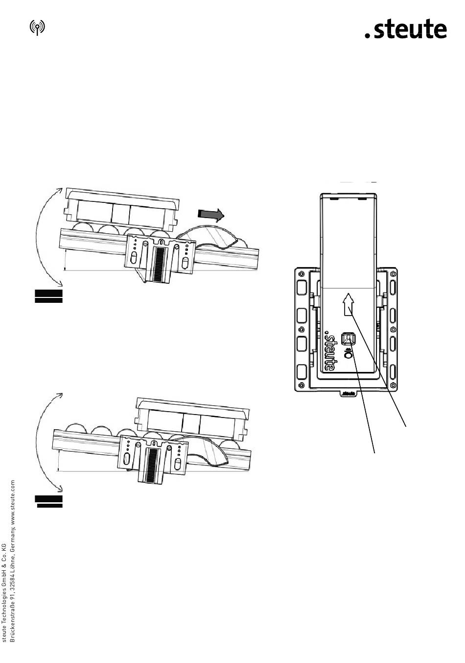
Montage- und Anschlussanleitung / Regalsensor
Mounting and wiring instructions / Rack sensor
Betätigung
Actuation
b
α
0° ... 6°
C
a: Betätigungsrichtung / Kastenlaufrichtung
a: Betätigungsrichtung / Kastenlaufrichtung
a: Actuating direction / rolling direction of box
a: Actuating direction / rolling direction of box
b: Konfi gurierbarer Rollenbahnwinkel; größere Schrägen der Rol-
lenbahn möglich durch Umkonfi guration des Schalters
(siehe »Winkeleinstellung«)
b: Confi gurable roller conveyor incline; greater roller conveyor
inclines are possible by reconfi guration (see »Incline«)
c: Empfehlung der Rollenbahnhersteller:
2° ... 4° für ein Durchlaufregal
c: Recommendation of roller conveyor manufacturers:
2° ... 4° for a fl ow rack
α
0° ... 6°
C
c: Konfi gurierbarer Rollenbahnwinkel; größere Schrägen der Rol-
c: Konfi gurierbarer Rollenbahnwinkel; größere Schrägen der Rol-
lenbahn möglich durch Umkonfi guration des Schalters
lenbahn möglich durch Umkonfi guration des Schalters
(siehe »Winkeleinstellung«)
c: Confi gurable roller conveyor; greater roller conveyor inclines are
possible by reconfi guration (see »Incline«)
Bitte beachten: Der Offset legt den Winkel der Rollenbahnschräge
fest, nicht den Schaltwinkel. Beispiel: Die typische Rollenbahn-
schräge von 3° ist voreingestellt und für die meisten Anwendungen
praktikabel. Ein Offset von, beispielsweise, -6° wäre unüblich, da
die Rollenbahn eine negative Schräge hätte und nach oben zeigen
würde
Please note: The offset sets the angle of the roller conveyor incline,
not the angle of the switching point. For example, the typical roller
conveyor incline of 3° is set as default and is good to go for most
applications. Thus, an offset of, for example, -6° would be unusual
as the conveyor would have a negative incline and, therefore, would
be pointing upwards.
Funktionsanzeige
Display of functions
a
LED-Anzeige blinkt bei Betätigung
LED blinks upon actuation
8 / 16
Betätigungsrichtung
Rolling direction
loading