Herunterladen Inhalt Inhalt Diese Seite drucken

SPACEMAKER RGB1010ONEU Aufbauanleitung Seite 6

Inhaltsverzeichnis
DK06-GE
Der Sockel fur Ihr Gerätehaus
MÖGLICHKEIT 1: HOLZSOCKEL
Bevor Sie mit der Arbeit beginnen, besorgen Sie sich das Material, das Sie hierfür benötigen:
druckimprägnierte Kanthölze
kommen würde, darf kein kesseldruckimprägniertes Holz verwendet werden. Kesseldruckimprägniertes Holz hat Eigenschaften,
die zu beschleunigter Korrosion führen.
Wenn kesseldruckimprägniertes Holz mit Ihrem Geräteschuppen in Kontakt kommt, wird Ihre Garantie ungültig.
verzinkte Nägel
Das Fundament (Boden) muß absolut rechtwinklig und eben sein.
Richten Sie sich nach der Zeichnung.
Für das Erstellen eines Holzsockel benötigt man
ca. 6 - 7 Stunden.
MÖGLICHKEIT
2: ZEMENTSOCKEL
DAS SOCKEL SOLLTE MINDESTENS 10,2 CM (4")
STARK SEIN. ES MUß ABSOLUT EBEN UND RECHTWINKLIG SEIN.
Bevor Sie mit der Arbeit beginnen, besorgen Sie sich das Material, das Sie hierfür benötigen:
Kanthölzer (nach Trocknung entfernen)
Beton Plastikfolie
Um einen Beton der richtigen Stärke zu erhalten empfehlen wir:
1 Teil Zement, 3 Teile grober Sand, 2 1/2 Teile sauberer Sand
Bodenvorbereitung/Erstellung des Sockels.
1. Ein Rechteck ausheben, und zwar ca. 15,2 cm (6") tief (Gras entfernen).
2. Mit grobem Sand ca. 10,2 cm (4") hoch au üllen und feststampfen.
3. Den groben Sand mit einer starken Plastikfolie abdecken.
4. Einen Holzrahmen konstruieren.
5. Den Beton hineingießen. Der Betonboden sollte ca. 10,2 cm (4")
stark sein. Achtung: Die Ober äche muß absolut glatt sein.
Für das Erstellen des zementsockel benötigen Sie ca.
3 bis 5 Stunden. Lassen Sie bitte dieses Sockel eine
Woche trocknen.
Sockel
wasserfestes Sperrholz
HINWEIS: An Stellen, an denen es mit Ihrem Geräteschuppen in Kontakt
Betonblöcke (wahlweise)
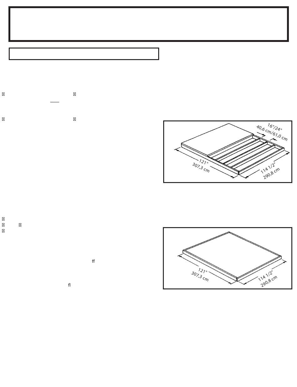
VORNE
(TUR)
HINWEIS: Das Sockel ist ca. 1,4 cm (9/16")
größer auf allen vier Seiten als das Sockelmaß
VORNE
(TUR)
HINWEIS: Die Abmessungen in der Zeichnung
sind die Maße des Sockels, nachdem der
6
des Gerätehauses.
Holzrahmen entfernt wurde.
Inhaltsverzeichnis
loading

Diese Anleitung auch für:

Rgb1010fgeu

Inhaltsverzeichnis