Herunterladen Inhalt Inhalt Diese Seite drucken

RAVAGLIOLI RAV series Übersetzung Der Originalanleitung Seite 71

Elektrohydraulische hebebühne
Vorschau ausblenden Andere Handbücher für RAV series:
Inhaltsverzeichnis
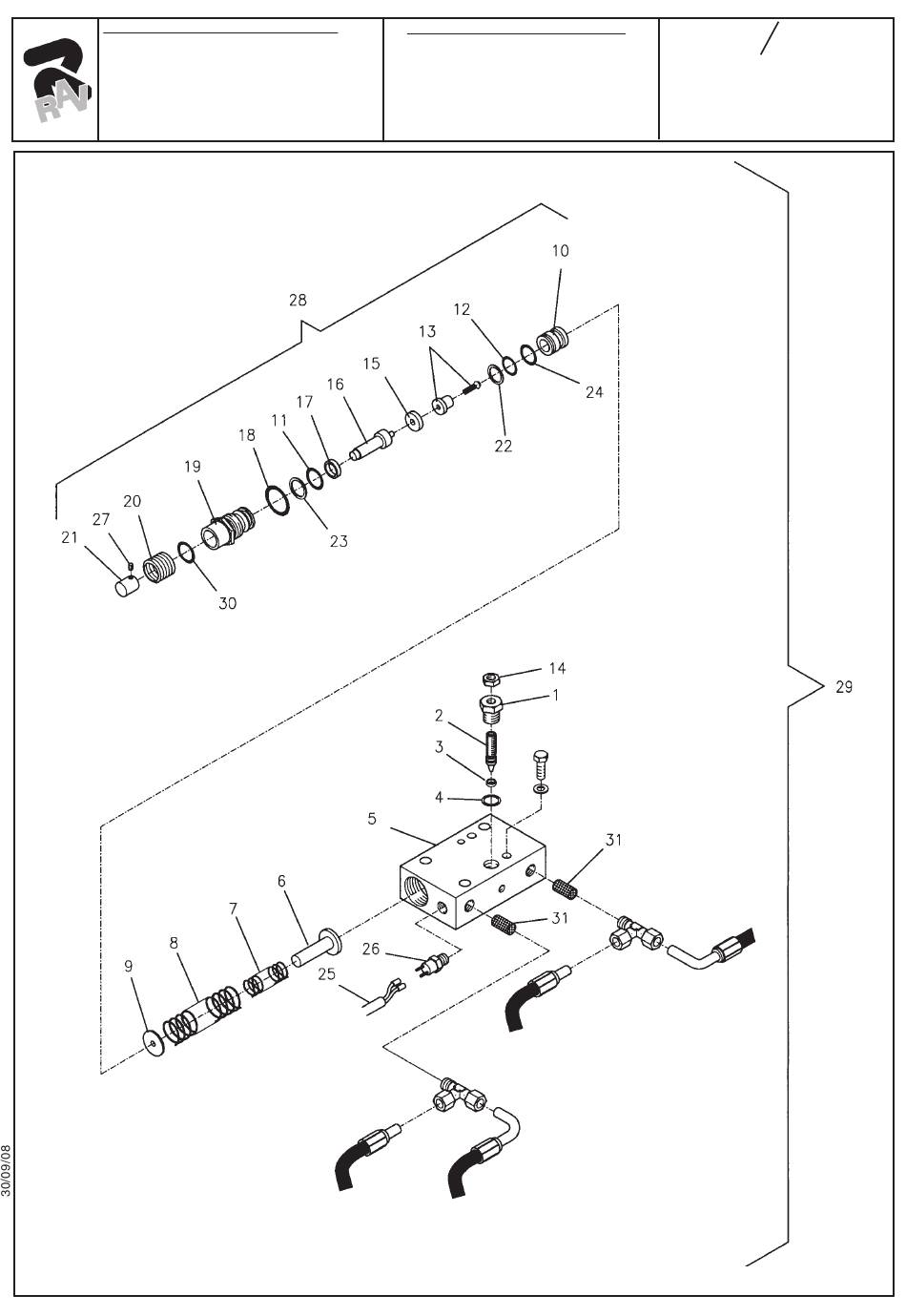
Denominazione tavola - Table definition
VALVOLA DI ALLINEAMENTO
PEDANE
FOOTBOARD ALIGNMENT
VALVE UNIT
Valida per i modelli - Apply to models
RAV518T - RAV518TI -
RAV 518AAT - RAV518DC -
RAV518F
0579 - M020-2
N°tavola
Indice di modifica
Table no
Change index
6/
4
71
Inhaltsverzeichnis
loading

Diese Anleitung auch für:

Rav518tiRav518fRav518aatRav518dc

Inhaltsverzeichnis