Anmelden
Hochladen
Herunterladen
Inhalt
Inhalt
Zu meinen Handbüchern
Löschen
Teilen
URL dieser Seite:
HTML-Link:
Lesezeichen hinzufügen
Hinzufügen
Handbuch wird automatisch zu "Meine Handbücher" hinzugefügt
Diese Seite drucken
×
Lesezeichen wurde hinzugefügt
×
Zu meinen Handbüchern hinzugefügt
Anleitungen
Marken
NPG Anleitungen
Fitness-Ausrüstung
Row
Montageanleitung
NPG Row Montageanleitung Seite 8
Vorschau ausblenden
1
Inhalt
2
3
4
5
6
7
8
9
10
11
12
13
14
15
16
17
18
19
20
21
22
23
24
25
26
27
28
29
30
31
32
33
34
35
Seite
von
35
Vorwärts
/
35
Inhalt
Inhaltsverzeichnis
Lesezeichen
Inhaltsverzeichnis
Gerätewartungsanleitung
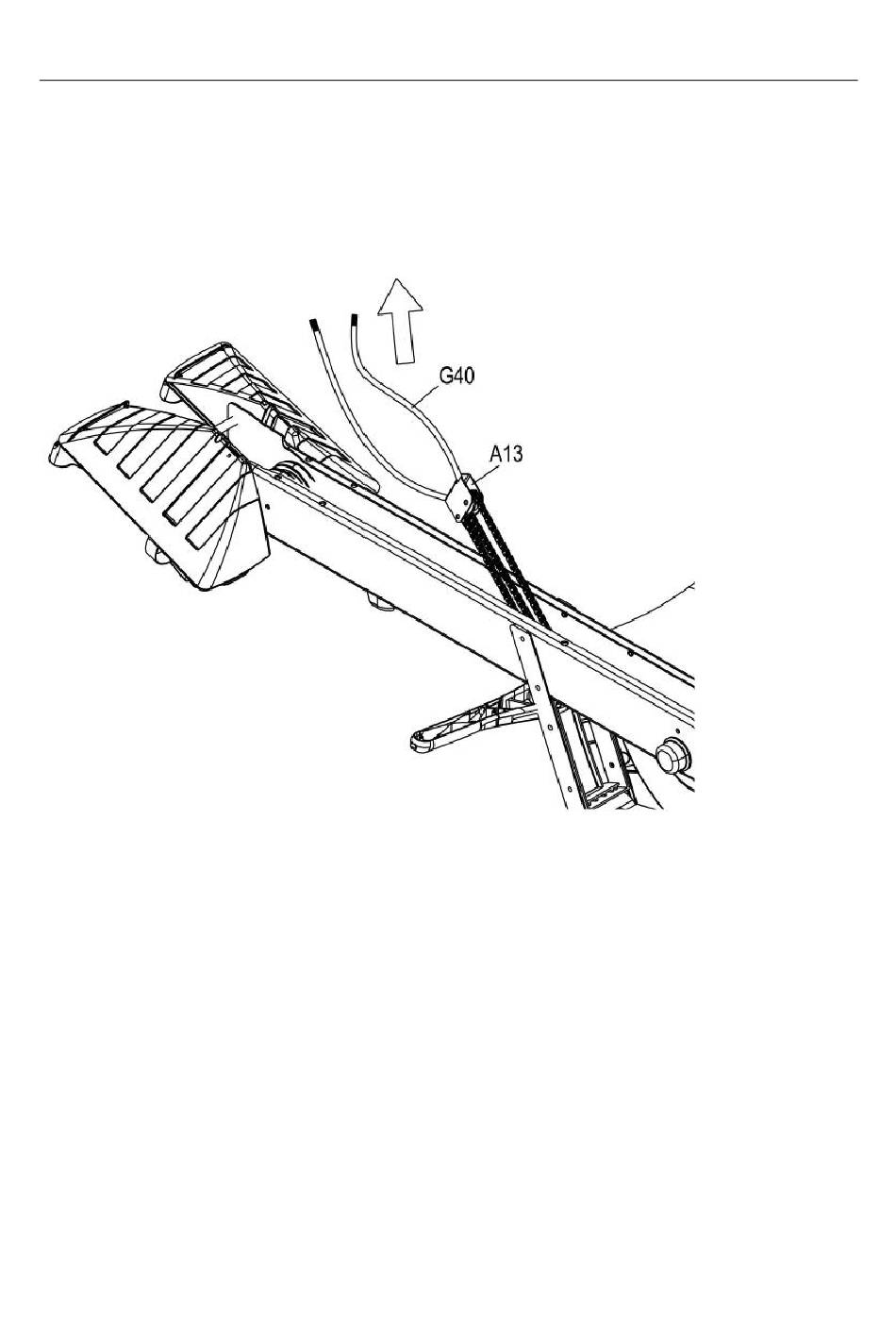
(2) Bungee-Kabel (G40) Austausch
Schritt 4: Ziehen Sie das gebrauchte Bungee-Kabel (G40) wie abgebildet aus der
Spannrolle-Montageplatte (A13).
Inhalt
sverzeichnis
Vorherige
Seite
Nächste
Seite
1
...
5
6
7
8
9
10
11
12
Inhaltsverzeichnis
Verwandte Anleitungen für NPG Row
Fitness-Ausrüstung NPG SKI Bedienungsanleitung
(37 Seiten)
Fitness-Ausrüstung NPG ErgCycle Bedienungsanleitung
(26 Seiten)
Verwandte Produkte für NPG Row
NPG ErgCycle
NPG SKI
Inhaltsverzeichnis
Drucken
Lesezeichen umbenennen
Lesezeichen löschen?
Möchten Sie es aus Ihren Handbüchern löschen?
Anmelden
Anmelden
ODER
Mit Facebook anmelden
Mit Google anmelden
Anleitung hochladen
Von PC hochladen
Von URL hochladen