Anmelden
Hochladen
Herunterladen
Inhalt
Inhalt
Zu meinen Handbüchern
Löschen
Teilen
URL dieser Seite:
HTML-Link:
Lesezeichen hinzufügen
Hinzufügen
Handbuch wird automatisch zu "Meine Handbücher" hinzugefügt
Diese Seite drucken
×
Lesezeichen wurde hinzugefügt
×
Zu meinen Handbüchern hinzugefügt
Anleitungen
Marken
Optex Anleitungen
Sensoren
REDSCAN mini-Pro RLS-2020V
Bedienungsanleitung
Optex REDSCAN mini-Pro RLS-2020V Bedienungsanleitung Seite 48
Vorschau ausblenden
Andere Handbücher für REDSCAN mini-Pro RLS-2020V
:
Einrichtungsanleitung
(52 Seiten)
1
2
3
4
5
6
7
8
9
10
11
12
13
14
15
16
17
18
19
20
21
22
23
24
25
26
27
28
29
30
31
32
33
34
35
36
37
38
39
40
41
42
43
44
45
46
47
48
49
50
51
52
53
54
55
56
57
58
59
60
Seite
von
60
Vorwärts
/
60
Inhalt
Inhaltsverzeichnis
Lesezeichen
Inhaltsverzeichnis
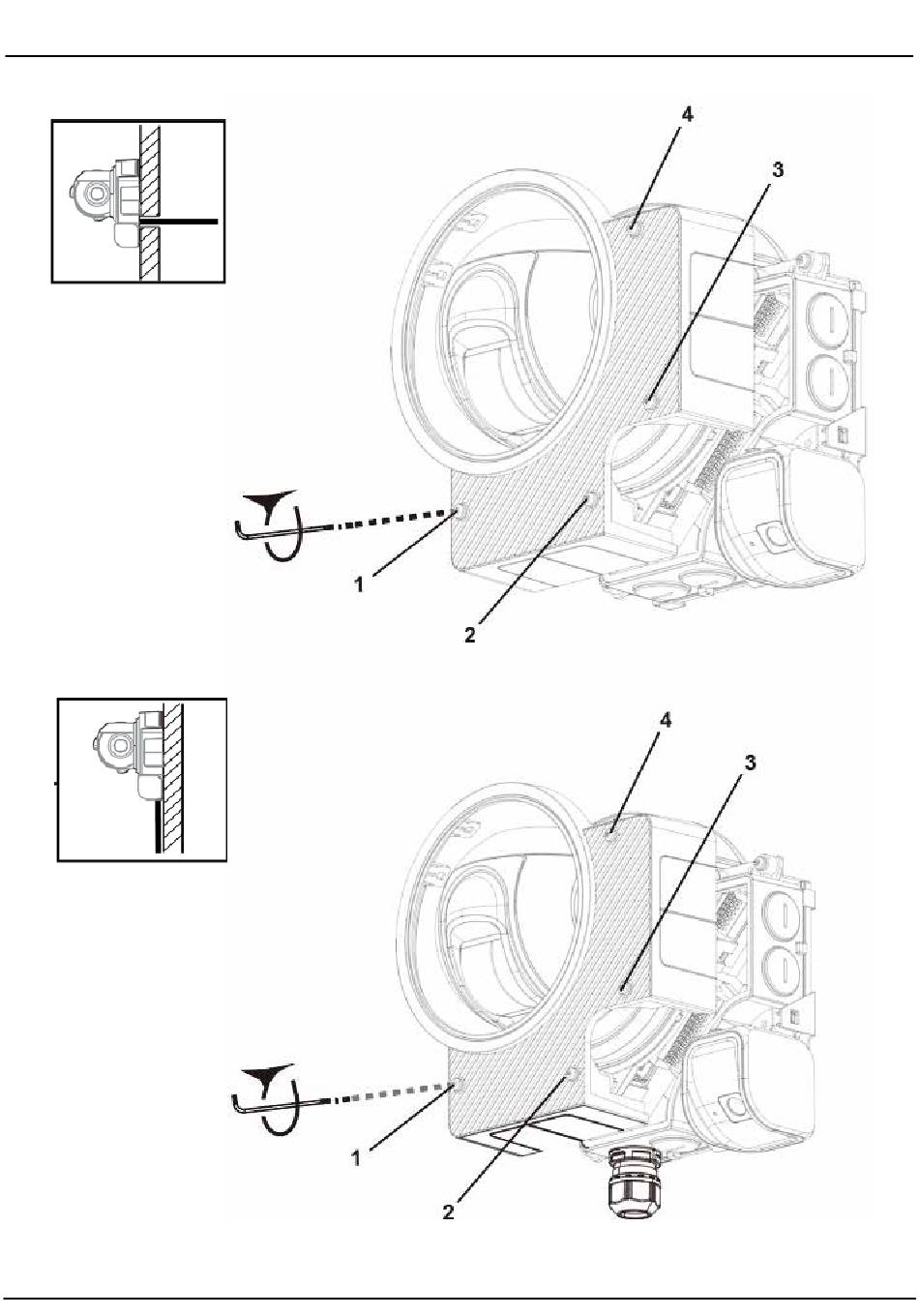
REDSCAN mini-Pro
INSTALLATIONSANLEITUNG
DE-48
Inhalt
sverzeichnis
Vorherige
Seite
Nächste
Seite
1
...
45
46
47
48
49
50
51
52
Inhaltsverzeichnis
Verwandte Anleitungen für Optex REDSCAN mini-Pro RLS-2020V
Melder Optex REDSCAN mini-Pro RLS-2020V Einrichtungsanleitung
Laserscan-melder (52 Seiten)
Sensoren Optex BX SHIELD Serie Installationsanleitung
Boundary outdoor detector (8 Seiten)
Sensoren Optex OAM-EXPLORER Bedienungsanleitung
(2 Seiten)
Sensoren Optex OAM-DUAL TV Bedienungsanleitung
Schiebetüren (2 Seiten)
Sensoren Optex SmartLine-Serie Installationsanweisungen
Photolektrischer detektor (12 Seiten)
Sensoren Optex Smart Line Serie Installationsanweisungen
Photoelektrischer detektor (24 Seiten)
Sensoren Optex EZ Bedienungsanleitung
Microwave door sensor (8 Seiten)
Sensoren Optex OAM-DUAL T Bedienungsanleitung
(2 Seiten)
Sensoren Optex WX Infinity Serie Installationsanleitung
180 degree panoramic outdoor detector (8 Seiten)
Sensoren Optex VX shield series Installationsanweisungen
(8 Seiten)
Sensoren Optex QA-AXIS II Bedienungsanleitung
(2 Seiten)
Verwandte Produkte für Optex REDSCAN mini-Pro RLS-2020V
Optex REDSCAN Pro RLS-50100V
Optex REDSCAN Pro RLS-3060V
Optex Redscan Mini RLS-2020S
Optex Redscan Mini RLS-2020I
Optex REDSCAN mini Serie
Optex fit FTN-R
Optex fit FTN-RAM
Optex fit-Serie
Diese Anleitung auch für:
Redscan mini-pro rls-2020a
Inhaltsverzeichnis
Drucken
Lesezeichen umbenennen
Lesezeichen löschen?
Möchten Sie es aus Ihren Handbüchern löschen?
Anmelden
Anmelden
ODER
Mit Facebook anmelden
Mit Google anmelden
Anleitung hochladen
Von PC hochladen
Von URL hochladen