Herunterladen Inhalt Inhalt Diese Seite drucken

noco BOOST PRO GB150 Bedienungsanleitung Seite 96

Vorschau ausblenden Andere Handbücher für BOOST PRO GB150:
Inhaltsverzeichnis
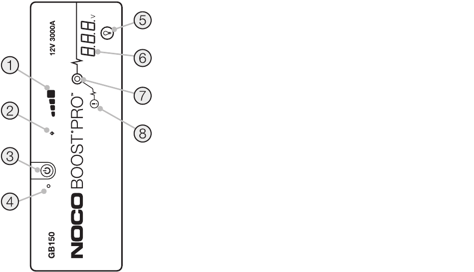
1.) Επίπεδο φόρτισης της εσωτερικής μπαταρίας.
Υποδεικνύει το επίπεδο φόρτισης της εσωτερικής
μπαταρίας.
2.) LED σφάλματος.
Ανάβει κόκκινο εάν ανιχνευθεί αντίστροφη πολικότητα, ή αναβοσβήνει "On" και "Off" όταν η
εσωτερική θερμοκρασία της μπαταρίας είναι πολύ υψηλή.
3.) Κουμπί λειτουργίας.
Πιέστε για να ενεργοποιήστε "On" ή να απενεργοποιήστε "Off", τη μονάδα,
4.) LED Λειτουργίας.
Ανάβει λευκό όταν η μονάδα είναι ενεργοποιημένη, "On".
5.) Κουμπί λειτουργίας φωτισμού.
Εναλλάσσει την υπερ-φωτεινή λυχνία LED μέσω 7 τρόπων λειτουργίας φωτισμού
100% > 50% > 10% > SOS > Γρήγορο αναβόσβημα (Blink) > Στροβοσκοπική (Strobe) > Απενεργοποίηση (Off).
6.) Βολτόμετρο.
Το ενσωματωμένο βολτόμετρο μετρά την τάση της μπαταρίας του αυτοκινήτου για βελτιωμένη διάγνωση
και αντιμετώπιση προβλημάτων. Το βολτόμετρο θα μετρήσει αυτόματα την τάση της κάθε μπαταρίας (ή σύστημα μπαταρίας)
όταν οι τσιμπίδες (κροκοδιλάκια) είναι συνδεδεμένες, ακόμη και αν η μονάδα είναι απενεργοποιημένη. Το βολτόμετρο θα
μετρήσει μεταξύ ~3V και ~20V. Εάν η συνδεδεμένη μπαταρία είναι κάτω από 3V, τίποτα δεν θα εμφανίζεται. Αν η τάση είναι
χαμηλή, υπάρχει η πιθανότητα να υπάρχει ένα φορτίο(-α) στη μπαταρία, όπως προβολείς ή ανεμιστήρας κλιματιστικού, τα οποία
θα πρέπει να απενεργοποιηθούν πριν επιχειρήσετε την εκκίνηση του οχήματος.
7.) LED ισχυρής στιγμιαίας φόρτισης.
Ανάβει λευκό όταν η ταχεία στιγμιαία φόρτιση είναι ενεργή. Εάν η μονάδα
έχει συνδεθεί σωστά στην μπαταρία, το GB150 θα εντοπίσει αυτόματα μια μπαταρία και θα τεθεί σε λειτουργία ταχείας φόρτισης
(η λυχνία LED αναβοσβήνει με λευκό φως όταν η χειροκίνητη λειτουργία παράκαμψης είναι ενεργή).
8.) Κουμπί χειροκίνητης παράκαμψης.
Προς ενεργοποίηση, πιέστε το και κρατήστε το πατημένο για τρία (3)
ΠΡΟΕΙΔΟΠΟΙΗΣΗ: Απενεργοποιεί την προστασία ασφάλειας και χειροκίνητα
δευτερόλεπτα.
επιτρέπει να ισχύει η ταχεία φόρτιση, "On". Για χρήση μόνο όταν η τάση της μπαταρίας
είναι πολύ χαμηλή για να μπορεί να ανιχνευθεί.

Quicklinks ausblenden:

Inhaltsverzeichnis
loading

Inhaltsverzeichnis