Herunterladen Inhalt Inhalt Diese Seite drucken

noco BOOST PRO GB150 Bedienungsanleitung Seite 216

Vorschau ausblenden Andere Handbücher für BOOST PRO GB150:
Inhaltsverzeichnis
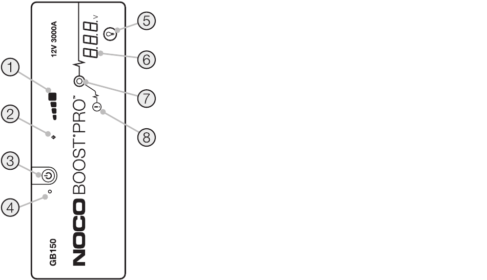
1.) Indikator razine unutarnje baterije
2.) LED lampica greške
svijetli crveno ako je detektiran obrnuti polaritet ili bljeska kada je temperatura unutarnje
baterije previsoka.
3.) Pritiskom
na gumb za uključivanje uređaj se uključuje ili isključuje.
4.) LED lampica uključivanja
5.) Gumbom za način rada svjetla
> Trepćuće > Stroboskop > Isključeno
6.) Voltmetar.
Ugrađeni voltmetar očitava napon akumulatora vozila radi poboljšanja dijagnostike i rješavanja problema.
Voltmetar će automatski očitati napon bilo kojeg akumulatora (ili baterijskog sustava) kada se priključe stezaljke baterije,
čak i ako je uređaj isključen. Voltmetar će očitati napon između ~3V i ~20V. Ako priključeni akumulator ima napon manji
od 3V, neće se ništa prikazati. Ako je napon tako nizak, vjerojatno je neki potrošač kao što su svjetla ili klimatizacijski uređaj
priključen na akumulator te ih treba isključiti prije pokušavanja pokretanja vozila.
7.) LED lampica punjenja
svijetli bijelo kada se uređaj puni. Ako je uređaj pravilno spojen sa akumulatorom, punjač/
starter GB150 automatski će detektirati akumulator i prijeći u način za punjenje (LED lampica svijetliti će bijelo kada je
aktivna funkcija ručnog premoštavanja).
8.) Ručno premoštavanje omogućava
UPOZORENJE: Onemogućava sigurnosnu zaštitu i ručno prisilno uključuje punjenje.
Upotrebljava se samo kada je akumulator previše ispražnjen i uređaj ga ne može
detektirati.
ukazuje na razinu napunjenosti baterije.
svijetli bijelo kada je uređaj uključen.
prebacuje se na jedan od 7 načina rada svjetla: 100% > 50% > 10% > SOS
se tako da se pritisne gumb i drži pritisnutim tri (3) sekunde.

Quicklinks ausblenden:

Inhaltsverzeichnis
loading

Inhaltsverzeichnis