Herunterladen Inhalt Inhalt Diese Seite drucken

noco BOOST PRO GB150 Bedienungsanleitung Seite 168

Vorschau ausblenden Andere Handbücher für BOOST PRO GB150:
Inhaltsverzeichnis
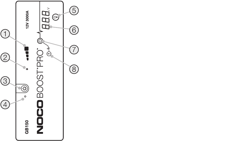
1.) Seesmise aku laetuse tase
viitab seesmise aku laetuse tasemele.
2.) Veatuli (LED)
Punane tuli süttib kui vastupidine polaarsus on detekteeritav, või vilgub sisse ja välja, kui seesmise aku
temperatuur on liiga kõrge.
3.) Käivitusnupp.
Vajutage nuppu ühiku sisse- ja väljalülitamiseks.
4.) Toite LED
Süttib valgena kui ühik on sisselülitatud.
5.) Light režiimi nupp
Lülitab sisse ultra-ereda LED valgustuse 7 erineval režiimil: 100% > 50% > 10% > SOS >
Vilkumine > Strobe > Väljas
6.) Voltmeeter.
Sisse ehitatud voltmeeter loeb sõiduki auku voltaaži võimendatud diagnostika teostamiseks ja
veaotsinguks. Voltmeeter loeb automaatselt mistahes aku (või akusüsteemi) voltaaži, kui aku klambrid on ühendatud, isegi
kui ühik on välja lülitatud. Voltmeeter loeb voltaaži vahemikus ~3V ja ~20V. Kui ühendatud aku on alla 3V, siis ei kuvata
midagi. Kui voltaaž on nii madal, siis on ilmselt tegemist koormusega akul, näiteks peatulede või konditsioneeri tööst, mis
tuleks välja lülitada enne kui üritate sõidukit käivitada.
7.) Boost LED
süttib valgena kui Boost on sisselülitatud. Kui ühik on ühendatud korrektselt akuga, detekteerib GB150
automaatselt aku ja siseneb Boost režiimi (LED vilgub valgena kui manuaalse käivitamise režiim on aktiivne).
8.) Manuaalse käivitamise nupp
HOIATUS: Peatab
Käivitamiseks vajutage ja hoidke all kolm (3) sekundit.
turvaseaded ja lülitab manuaalselt Boost režiimi sisse. Kasutuseks vaid juhul, kui aku on
detekteerimiseks liiga tühi.

Quicklinks ausblenden:

Inhaltsverzeichnis
loading

Inhaltsverzeichnis