Herunterladen Inhalt Inhalt Diese Seite drucken

noco BOOST PRO GB150 Bedienungsanleitung Seite 256

Vorschau ausblenden Andere Handbücher für BOOST PRO GB150:
Inhaltsverzeichnis
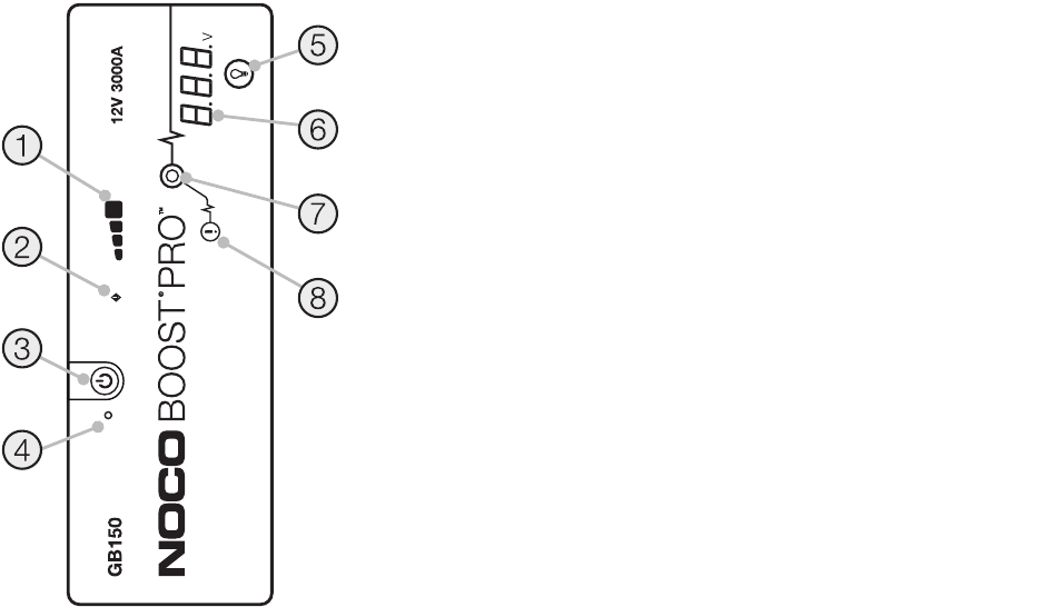
1.) 內置電池電量 顯示內置電池的充電量。
2.) 錯誤顯示燈 如正負極端子連接錯誤,紅色的錯誤顯示燈將會亮起;內置電池溫度過
高時,錯誤顯示燈將會明滅閃動。
3.) 電力開關鈕 開關本產品的按鈕。
4.) 電力顯示燈 本產品起動後白色的電力顯示燈將會亮起。
5.) 燈光模式轉換鈕 此按鈕可轉換超高亮LED燈的七種燈光模式:100% > 50% > 10%
> SOS求救訊號 > 閃動 > 快速閃動 > 關燈
6.) 電壓表。內置電壓表顯示汽車電池的電壓讀數,提供更佳的診斷及故障處理。當電池
兩極夾子連接到電池上,即使不起動本產品,電壓表亦能自動讀取任何電池(或電池系
統)的電壓數據。電壓表將讀取3V至20V之間的電壓數據。如連接的電池電壓低於3V,
將不會顯示數據。電壓低至此,很可能是由於車頭燈、空調風扇等起動汽車前必須全部
關上的裝置在消耗電力。
7.) 起動功能顯示燈 起動功能被激活後白色的起動功能顯示燈將會亮起。如本產品與汽
車電池的連接正常,GB150將會自動感應電池而進入起動模式(手動超控啟動後,白色
的起動能顯示燈將會閃動)。
8.) 手動超控鈕 長按手動超控鈕3秒鐘將會啟動手動超控模式。警告:此模式將停止安
全保護功能並強制激活起動功能。除非電池電壓過低令本產品無法感應電池,否則切勿
使用此模式。

Quicklinks ausblenden:

Inhaltsverzeichnis
loading

Inhaltsverzeichnis