Herunterladen Inhalt Inhalt Diese Seite drucken

noco BOOST PRO GB150 Bedienungsanleitung Seite 184

Vorschau ausblenden Andere Handbücher für BOOST PRO GB150:
Inhaltsverzeichnis
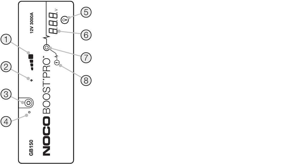
1.) Iebūvētā akumulatora līmenis
Rāda iebūvētā akumulatora uzlādes līmeni.
2.) Kļūdas gaismas diode
Iedegas sarkanā krāsā, ja noteikta pretēja polaritāte, vai mirgo, kad iebūvētā akumulatora
temperatūra ir pārāk augsta.
3.) Ieslēgšanas/izslēgšanas poga
Nospiediet, lai ierīci ieslēgtu un izslēgtu.
4.) Barošanas gaismas diode
Deg, kad ierīce ir ieslēgta.
5.) Gaismas režīma poga
Pārslēdz īpaši spilgto gaismas diodi 7 gaismas režīmos: 100 % > 50 % > 10 % > SOS >
Mirgo > Stroboskopisks apgaismojums > Izslēgta
6.) Voltmetrs.
Lai uzlabotu diagnostiku un novērstu problēmas, iebūvētais voltmetrs lasa transportlīdzekļa akumulatora
spriegumu. Kad akumulatora spailes ir pievienotas, voltmetrs automātiski lasa akumulatora (vai akumulatora sistēmas)
spriegumu, pat ja ierīcei nav pieslēgta barošana. Voltmetrs lasa spriegumu diapazonā no ~3 V līdz ~20 V. Ja pievienotā
akumulatora spriegums ir zem 3 V, displejā nekas netiek rādīts. Ja spriegums ir tik zems, iespējams, akumulatoram ir
papildu slodze, piemēram, ieslēgti priekšējie lukturi vai maiņstrāvas ventilators, kas ir jāizslēdz, pirms mēģināt iedarbināt
transportlīdzekli.
7.) Forsētās uzlādes gaismas diode
Deg baltā krāsā, kad forsētā uzlāde ir aktīva. Ja ierīce GB150 akumulatoram
ir pievienota pareizi, tā automātiski nosaka akumulatoru un pārslēdzas forsētās uzlādes režīmā (gaismas diode mirgo baltā
krāsā, kad manuālās vadības funkcija ir aktīva).
8.) Manuālās vadības poga
BRĪDINĀJUMS!
Lai iespējotu, nospiediet un turiet nospiestu 3 (trīs) sekundes.
Atspējo drošības aizsardzību un manuāli ieslēdz forsēto uzlādi. Izmantojama vienīgi tad, ja
akumulatora spriegums ir pārāk zems, lai akumulatoru noteiktu.

Quicklinks ausblenden:

Inhaltsverzeichnis
loading

Inhaltsverzeichnis