Herunterladen Inhalt Inhalt Diese Seite drucken

noco BOOST PRO GB150 Bedienungsanleitung Seite 64

Vorschau ausblenden Andere Handbücher für BOOST PRO GB150:
Inhaltsverzeichnis
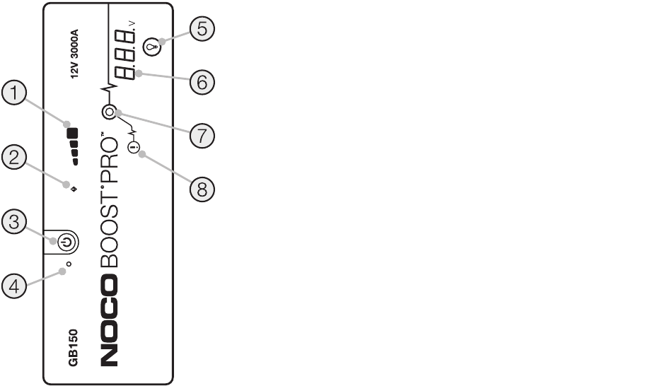
1.) Internt batteriniveau
Angiver opladningsniveauet for det interne batteri.
2.) Fejl LED
lyser rødt, hvis omvendt polaritet detekteres, eller blinker "On" og "Off", når den interne batteritemperatur
er for høj.
3.) Tryk på
Tænd/sluk-knap, for at at tænde for "On" & "Off".
4.) Strøm LED'en
Lyser Hvid når enheden er "Tændt"
5.) Lystilstandsknap
Skifter det ultraklare LED-lys via 7 lysindstillinger: 100% > 50% > 10% > SOS > Blink >
Strobe > Fra
6.) Voltmeter.
Det indbyggede voltmeter læser spændingen af køretøjets batteri for forbedret diagnostik og fejlfinding.
Voltmeteret vil automatisk læse spændingen for et batteri (eller batterisystem), når batteriklemmerne er tilsluttet, selvom
enheden er slukket. Voltmeteret læser spændingen mellem ~3V og ~20V. Hvis det tilsluttede batteri er under 3V, vises
ingenting. Hvis spændingen er så lav, er der sandsynligvis en belastning på batteriet, såsom forlygter eller og AC-ventilator,
der skal lukkes, før du forsøger at starte bilen.
7.) Boost LED
Lyser hvid, når Boost er aktiv. Hvis enheden er korrekt tilsluttet et batteri, registrerer GB150 automatisk et
batteri og går i Boost-tilstand (LED blinker Hvid, når funktionen manuel overstyring er aktiv).
8.) Manuel overstyringsknap.
ADVARSEL:
For at aktivere, tryk og hold den nede i tre (3) sekunder.
Deaktiverer sikkerhedsbeskyttelse og slår manuelt Boost "Til". Kun til brug, når batteriet er
for lavt til at blive registreret.

Quicklinks ausblenden:

Inhaltsverzeichnis
loading

Inhaltsverzeichnis