Herunterladen Inhalt Inhalt Diese Seite drucken

noco BOOST PRO GB150 Bedienungsanleitung Seite 88

Vorschau ausblenden Andere Handbücher für BOOST PRO GB150:
Inhaltsverzeichnis
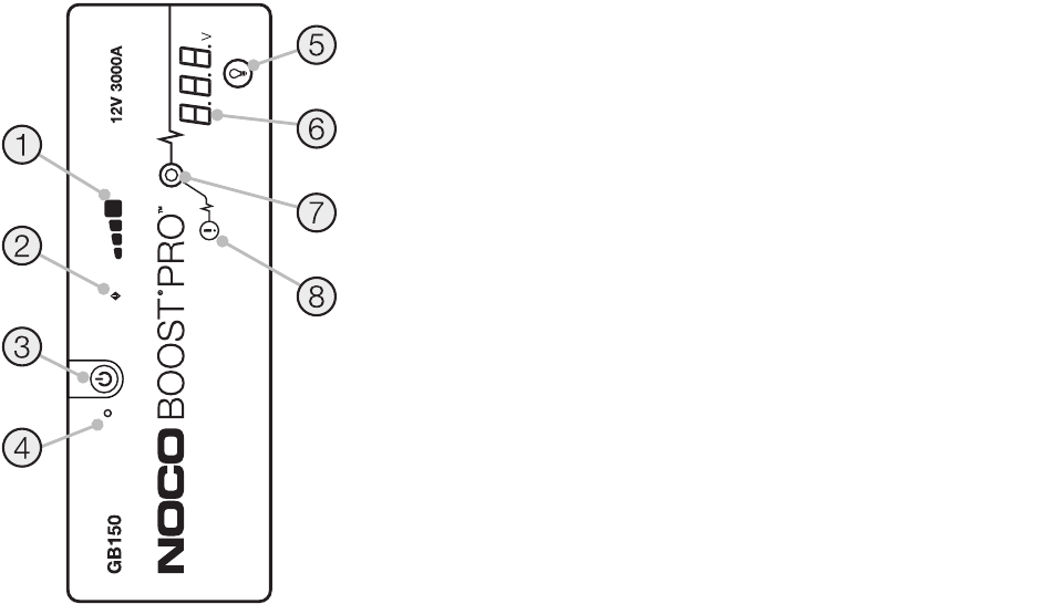
1.) Intern batterinivå
Indikerar laddningsnivån för det interna batteriet.
2.) Fel LED-ljus
Lyser rött om omvänd polaritet upptäcks eller växlar mellan "Av" och "På" när den enterna
batteritemperaturen är för hög.
3.) Startknappen
Trycks för att enhetern ska slå "Av och På".
4.) LED-ljuset
Lyser vitt när enheten är "På".
5.) Med ljusknappen
kan du växla mellan 7 ljuslägen: 100% > 50% > 10% > SOS> Blinkande > Nödljus >Av
6.) Voltmeter.
Den inbyggda voltmätaren läser spänningen i fordonets batteri för förbättrad diagnostik och felsökning.
Voltmätaren läser automatiskt batterispänningen (eller batterisystemet) när batteriklämmorna är anslutna, även om Enheten
är avstängd. Voltmätaren kommer att läsa spänningen mellan ~ 3V och ~ 20V. Om det anslutna batteriet är under 3V visas
ingenting. Om spänningen är så låg är det sannolikt en belastning på batteriet, såsom strålkastare eller och AC-fläkt, som
ska stängas av innan du startar bilen.
7.) LED-ljuset för boost
Lyser vitt när boostern är på. Om enheten är kopplat till batteriet på rätt sätt känner GB150-
enheten automatiskt av ett batteri och sätter igång boost-läget (LED-ljuset blinkar vitt när läget för manuell överstyrning
är på).
8.) Manuell överstyrningsknapp.
VARNING:
För att aktivera, tryck och håll nedtryckt i tre (3) sekunder.
Inaktiverar säkerhetsskydd och sätter manuellt i läget "På". Ska endast anvädas när
batteriet är för lågt för att detekteras.

Quicklinks ausblenden:

Inhaltsverzeichnis
loading

Inhaltsverzeichnis