Herunterladen Diese Seite drucken

schell COMPACT Montage-Und Installationsanleitung Seite 7

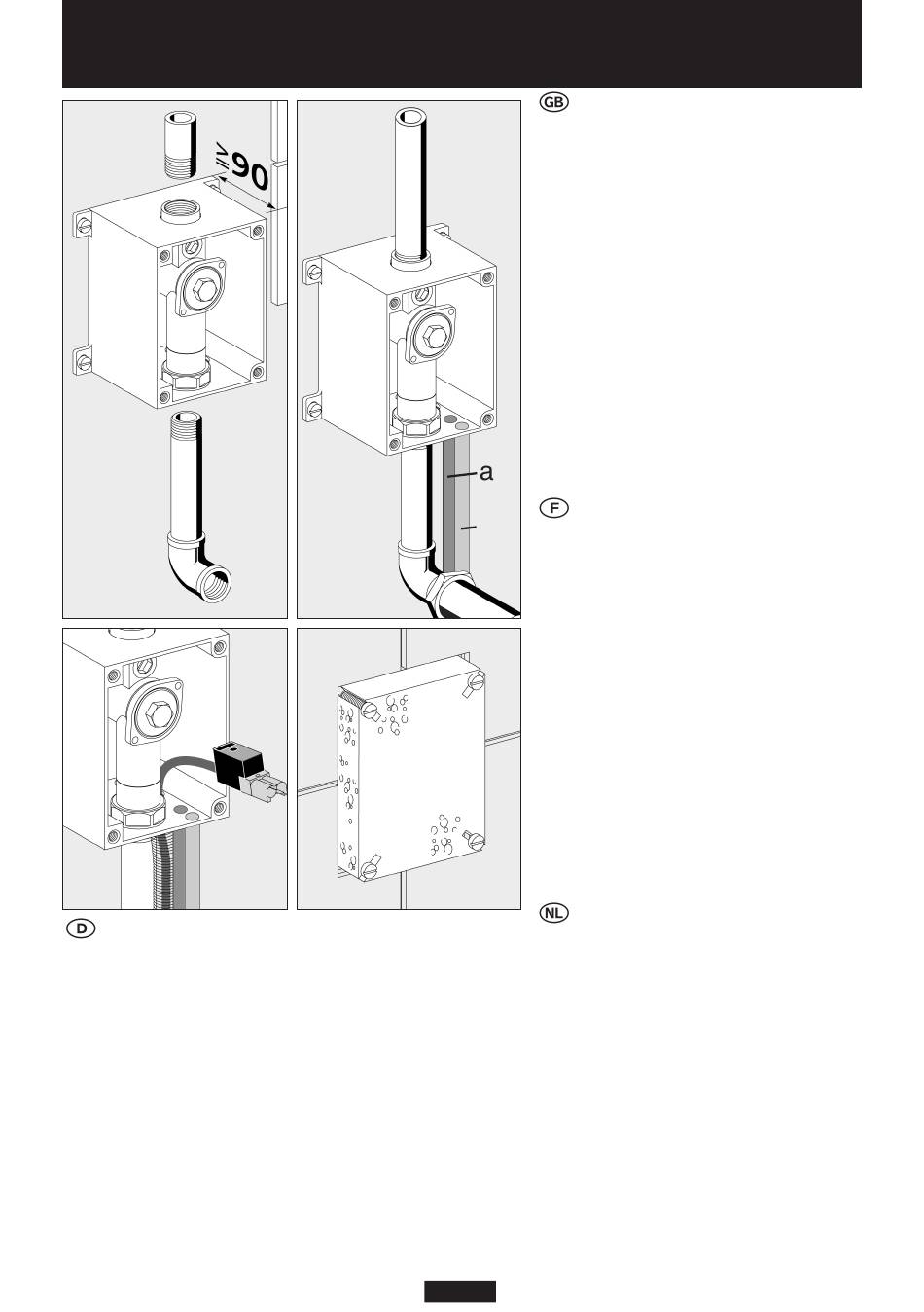
Rohbauset
Montage Rohbauset INFRA, VERONA / Assembly of roughing-in set INFRA, VERONA /
Encastrement INFRA, VERONA / Wandinbouw INFRA, VERONA
Montage Rohbauset
1
Rohbauset montieren und mit Rohrleitungen
verbinden.
2
Druckprobe durchführen / Leitung spülen.
a: bei HF / LC-Urinalsteuerung
Lehrrohr für Sensokabel vorsehen min. Ø 15/22 mm.
b: Bei LC je nach gewünschter Position des
Reedkontaktes, Leerrohr (bauseits) min. Ø 15/22 mm
vorsehen.
3
INFRA 230 V:
Netzzuleitung 230 V mit Stecker verbinden,
Kabellänge im Gehäuse 40 mm
4
Putzdeckel aufschrauben; bis an Deckel fliesen.
1
3
2
Assembly of roughing-in set
1
Mount roughing-in set and
connect to pipework.
2
Carry out pressure test.
Flush the water piping.
a: Provide with a hollow pipe for the
sensor cable (min. Ø 15/22 mm)
for the HF / LC urinal control unit.
b: Provide with a conduit (by custo-
mer min. Ø 15/22 mm, for the LC
depending on the preferred position
of the reed contact.
3
INFRA 230 V: Connect power
supply line 230 V with plug,
cable length in the casing 40 mm.
4
Screw on exposed cover; tile up
to lid.
b
Encastrement
1
Installez le set à encastrer
et raccordez les conduites.
2
Testez sous pression d'eau
Rincer la tuyauterie
4
a: pour commande d'urinoir HF / LC
prévoir un tube vide min. Ø 15/22
mm.
b: pour commande LC prévoir un
tube vide en fonction du position-
nement du Reed contact min.
Ø 15/22 mm.
3
INFRA 230 V: branchez la prise au
réseau 230 V et introduisez le câble
dans la boîte (40 mm).
4
Vissez le couvercle, carrelez
jusqu'au couvercle.
Wandinbouw
1
Monteer de inbouwset
en sluit de leidingen aan.
2
Waterdruktest / Leiding spoelen.
a: bij HF / LC urinoirsturing lege
buis voorzien min. Ø 15/22 mm.
b: bij LC sturing volgens positie-
keuze van het Reedcontact een
lege buis voorziem min. Ø 15/22
mm.
3
INFRA 230 V: sluit de stekker aan
op de voeding 230 V en leg de
kabel in het huis (4 cm).
4
Schroef het deksel vast; tot
aan het deksel betegelen.
7
loading