Herunterladen Inhalt Inhalt Diese Seite drucken

CHIEF iCMPDA1 Installationsanleitung Seite 43

Inhaltsverzeichnis
Verfügbare Sprachen
  • DE

Verfügbare Sprachen

  • DEUTSCH, seite 25
Installation Instructions
3C
L x2
2
3
4
1
5
L x2
Installazione del display con schema di fori per il
montaggio a filo 100 x 100 mm
IMPORTANTE!
Questa procedura vale solamente se i fori di
montaggio 100 x 100 mm sul retro del display sono a filo con la
superficie posteriore del display, OPPURE se le staffe (C, E) sono
state precedentemente installate secondo le istruzioni del
passaggio 3A o 3B.
AVVERTENZA:
UN PESO SUPERIORE ALLA CAPACITÀ
NOMINALE PUÒ ARRECARE GRAVI INFORTUNI O
DANNEGGIARE L'APPARECCHIATURA. È responsabilità
dell'installatore verificare che il peso totale di tutti i componenti
montati sul iCMPDA1 non superi 34 kg (75 lb).
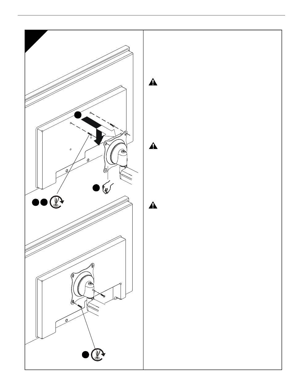
1.
Sincerarsi che la staffa Centris possa girare e inclinarsi
facilmente, pur rimanendo ben salda nella posizione di
orientamento desiderata per il display. Regolare secondo
necessità prima di procedere. Vedere "REGOLAZIONE".
ATTENZIONE:
L'USO DI VITI DI MISURA CORRETTA PUÒ
ARRECARE DANNI AL DISPLAY. Le viti sono di misura corretta
se si inseriscono e si avvitano agevolmente nei fori di montaggi.
2.
Con un cacciavite a stella, inserire due viti (L) nei fori
di montaggio filettati superiori posti sul retro del display
(o nelle staffe C, E; se utilizzate).
3.
Avvitare le viti a fondo nel display (o nelle staffe C, E;
se utilizzate), quindi svitarle di 3 giri completi.
AVVERTENZA:
UN AVVITAMENTO INADEGUATO
DEI FILETTI PUÒ PROVOCARE LA CADUTA DEL
DISPLAY, CON CONSEGUENTI LESIONI GRAVI O DANNI
ALL'APPARECCHIATURA. Svitare SOLAMENTE di quanto
necessario per l'installazione della staffa Centris.
4.
Sollevare e allineare il display in modo che le viti sul retro
(o nelle staffe C, E; se utilizzate) si inseriscano nei fori di
montaggio superiori a forma di goccia della staffa Centris.
Abbassare il display in posizione.
NOTA:
NON serrare le viti a questo punto.
5.
Con un cacciavite a stella, inserire due viti (L) attraverso i fori
di montaggio inferiori a goccia della staffa Centris nel display
(o nelle staffe C, E; se utilizzate).
6.
Serrare le quattro viti (L). Non avvitare eccessivamente.
iCMPDA1
43
Inhaltsverzeichnis
loading

Inhaltsverzeichnis