Herunterladen Inhalt Inhalt Diese Seite drucken

Temperaturfühlereinbau; Einbau In Tauchhülse; Einbau Direkt Ins Heiz- Bzw. Kühlmedium; Anzeigemöglichkeiten - Metrona Pollucom E Einbau- Und Betriebsanleitung

Wärme- / kältezähler
Inhaltsverzeichnis
Einbau- und Betriebsanleitung METRONA
Wärme- / Kältezähler PolluCom E
5. Temperaturfühlereinbau
Je nach Ausführung verfügt PolluCom E über
einen oder zwei externe Temperaturfühler. Die
Standardkabellänge
(Sonderausführung: ca. 5 m und ca. 10 m). Für
die Verlegung des Kabels sollte nach Möglichkeit
ein Kabelkanal oder ein Leerrohr verwendet
werden. Um eine möglichst genaue Temperatur-
messung zu erzielen, muss sich das vordere
Ende des Temperaturfühlers in der Mitte des
Rohrleitungsquerschnitts befinden (s. Abb. 3).
Bei der Verlegung der Kabel ist ein Mindest-
abstand von 0,3 m zu elektromagnetischen Stör-
quellen (Generatoren, Frequenzumformern, etc.)
sowie Kabeln, die > 230 V führen, einzuhalten, die
Fühlerkabel
dürfen
Kabelpritschen verlegt werden.
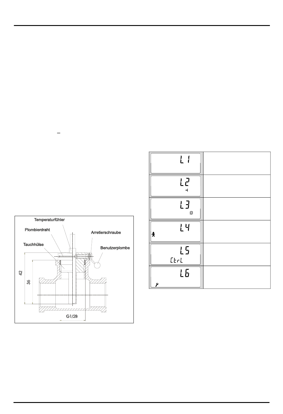
5.1 Einbau in Tauchhülse
Der Temperaturfühler wird bis zum Anschlag in
die Tauchhülse gesteckt und danach mit Hilfe der
Arretierschraube gegen Herausfallen gesichert.
Anschließend den beiliegenden Plombierdraht in
die umlaufende Nut am Sechskantkopf einlegen,
durch die Bohrung der Arretierschraube führen
und mit beiliegender Selflock-Plombe plombieren.
Abb. 3: Einbaubeispiel in T-Stück
5.2 Einbau direkt ins Heiz- bzw. Kühlmedium
Für
diese
Einbauart
Kugelhähne verwendet werden. Der Kugelhahn
dient gleichzeitig zur Absperrung der Leitung,
damit
der
Temperaturfühler
triebsunterbrechung der Anlage ausgebaut wer-
den kann.
beträgt
ca.
1,5
nicht
auf
den
gleichen
können
beispielsweise
ohne
6. Anzeigemöglichkeiten
Die verschiedenen Anzeigemöglichkeiten von
PolluCom E sind in sechs Ebenen unterteilt. Je
m
nach Ausführung des Zählers bzw. Maskierung
der Anzeige können einige mit einem Stern (*)
gekennzeichneten
blendet sein. Bei Bedarf lässt sich die Maskierung
mit der Servicesoftware MiniCom 3 über die
optische Datenschnittstelle des Zählers ändern.
Im Grundzustand schaltet sich die Anzeige im
Intervall von 4 Sekunden für eine Sekunde ein
und zeigt die kumulierte Wärmemenge. Durch
einen Druck auf die rote Taste wird die erste
Anzeigeposition in der Benutzerebene (kumulierte
Wärmemenge) aktiviert. Die anderen fünf Ebenen
werden durch einen Druck von 8 Sekunden auf
die rote Taste erreicht. Es erscheint das
Auswahlmenü L1 bis L6:
Abb. 4: Wechsel der Anzeigeebenen
Die Ebenen können durch kurzes Drücken der
roten Taste in o. g. Reihenfolge angewählt
werden. Wenn die gewünschte Ebene angezeigt
wird, 2 Sekunden auf die rote Taste drücken, um
in diese Ebene zu gelangen. Die einzelnen
Anzeigepositionen
nacheinander
Tastendruck aufgerufen. Erfolgt innerhalb von 4
Minuten
keine
Anzeige
automatisch
zurück.
Be-
In allen Ebenen werden eingehende Volumenim-
pulse durch ein blinkendes Flügelradsymbol (linke
untere Displayecke) angezeigt.
Anzeigepositionen
Benutzerebene
Statistikebene I
Statistikebene II
Serviceebene I
Serviceebene II
Parametrierebene
in
den
Ebenen
durch
jeweils
einen
Tastenbetätigung,
in
den
Grundzustand
M H 1110 DE / Metrona, Seite 3
ausge-
werden
kurzen
kehrt
die
Inhaltsverzeichnis
loading

Inhaltsverzeichnis