Herunterladen Inhalt Inhalt Diese Seite drucken

Maintenance And Care; Notes Regarding Environmental Protection; Contact Information - Apa Snap-In Bedienungsanleitung

Abschleppstange bis zu 2500 kg
Vorschau ausblenden Andere Handbücher für snap-in:
Inhaltsverzeichnis
Verfügbare Sprachen
  • DE

Verfügbare Sprachen

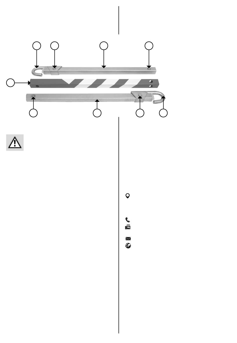
the tow bar is pulled apart and the bolts ⑥ latch into place. Then
stop again and make sure the tow bar is in the correct position.
Also make sure that all bolts ②⑥⑧⑨ have latched correctly
into place.
The tow bar is now ready to be used.
1
5
8
Observe the safety guidelines when towing!
Separating the vehicles
First, secure both vehicles from rolling away. Now the tow
hooks ① and ④ can be disconnected from the towing lugs.
For this purpose press the bolts ② inward and release the tow
hook ① by sliding on the tow bar ③from the towing lug. It may
also be necessary to disconnect the tow bar ③ from the centre
piece ⑤ . For this purpose press the bolts ⑥ inward and slide the
centre piece ⑤ correspondingly. Proceed in the same manner on
the other end of the tow bar.
Place all parts of the tow bar into the transport bag after
completing the towing process.

6 .MAINTENANCE AND CARE

Clean the tow bar with a slightly damp cloth and a mild
detergent. Do not use harsh detergents, solvents or gasoline.
Make sure that no detergents or liquids are allowed penetrate
into the tow bar.
Treat the bolts regularly with a light penetrating oil.
Store the tow bar in a dry place.
2
7
3
9

7. NOTES REGARDING ENVIRONMENTAL PROTECTION

Please dispose of this device via the recycling bin or the
public/municipal collection points.
The materials can be recycled. You make an important
contribution to protecting our environment by recycling,
material utilisation or other forms of reusing waste equipment!

8. CONTACT INFORMATION

EAL GmbH
Otto-Hausmann-Ring 107
42115 Wuppertal, Germany
+49 (0)202 42 92 83 0
+49 (0) 202 42 92 83 – 160
info@eal-vertrieb.com
www.eal-vertrieb.com
6
4
7
Inhaltsverzeichnis
loading

Diese Anleitung auch für:

29640

Inhaltsverzeichnis