Herunterladen Diese Seite drucken
Ölpumpe Typ BFP
Technische Daten
Viskositätsbereich:
1,8 - 12,0 mm
Drehzahl:
2400 - 3600 min
Druckbereich:
Stufe I: 7 - 15 bar
Druckbereich:
Stufe II:10 - 25 bar
Werkseinstellung:
Stufe I (NC): 10 bar
Stufe II (NO): 13 bar
Spulenspannung:
230 / 240 V, 50 / 60 Hz
–10 bis 70 °C
Temperaturbereich:
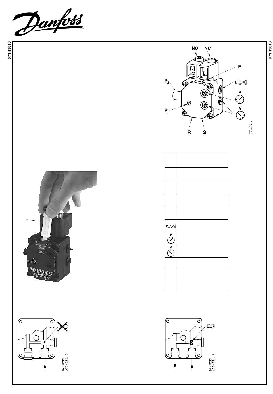
Anschlüsse (Abb. 1)
Entlüftung
Eine Entlüftung ist nur an 1-Strang-Anlagen erforderlich. Bei 2-Strang-
Anlagen erfolgt die Entlüftung der Pumpe automatisch durch die Rück-
laufleitung.
Filterwechsel mit Patronenfilter (Abb. 2)
Ist das Vakuum während der Betriebszeit auf einen Wert > 0,35 bar (kPa
10
2
) angestigen, ist ein Filterwechsel erforderlich. Den Filterstopfen im
Deckel herausschrauben (Innensechskant 4 mm) und Filter herausnehmen.
Schraubendreher zwischen Filter und Stopfen setzen und vorsichtig
drehen bis Filter vom Stopfen getrennt ist. Filter auswechseln und auf den
Stopfen pressen. Stopfen zurück in den Deckel schrauben.
Umstellung von 1- auf 2-Strang-Betrieb
An 1-Strang-Anlagen (Abb. 3).
An 2-Strang-Anlagen (Abb. 4).
Filter
TN 750313
Abb. 2
Abb. 3
Körting TN 793703.01
INSTRUCTIONS
BFP 52E L3 / L5
2
/s
–1
Spule
Spule
TN 750207
TN 750206
Abb. 1
Symbolerklärung
Druckregelung
P
1
Stufe I
Druckregelung
P
2
Stufe II
Saugleitung
S
G
1
/
4
Rücklaufleitung
R
G
1
/
4
Düsenanschluß links
G
1
/
8
Anschluß für Manometer
stirnseitig G
1
/
8
Anschluß für Vakuummeter
G
1
/
8
F
Patronenfilter
NC
Magnetventil Stufe I
NO
Magnetventil Stufe II
Achtung:
Auf richtige Anordnung der Spulenkabel achten!
NC-Kabel zu NC-Spule (Stufe I)
NO-Kabel zu NO-Spule (Stufe II)
Abb. 4
BI.10.L4.03
10-1999
loading

Inhaltszusammenfassung für Danfoss BFP 52E L3

  • Seite 1 INSTRUCTIONS BFP 52E L3 / L5 Ölpumpe Typ BFP Spule Spule TN 750207 TN 750206 Technische Daten Viskositätsbereich: 1,8 - 12,0 mm Drehzahl: 2400 - 3600 min –1 Druckbereich: Stufe I: 7 - 15 bar Druckbereich: Stufe II:10 - 25 bar...
  • Seite 2 1 Externes Ölfilter 4 Stck. 90° Bogen Die Summe dieser Einzelwiderstände hat eine Größenordnung, die in der Praxis unberücksichtigt bleiben kann. Falls zusätzliche Widerstände installiert werden, reduziert sich die Leitungslänge entsprechend. Produced by Danfoss G1 advertising agency 99.1 0 FO-Bi.PS...

Diese Anleitung auch für:

Bfp 52e l5Bfp serie