Herunterladen Inhalt Inhalt Diese Seite drucken

cecotec CleanFry 3 L Full Inox Bedienungsanleitung Seite 8

Vorschau ausblenden Andere Handbücher für CleanFry 3 L Full Inox:
Inhaltsverzeichnis
Verfügbare Sprachen
  • DE

Verfügbare Sprachen

  • DEUTSCH, seite 27
ESPAÑOL
• Limpie el panel de control con un trapo húmedo y/o papel de cocina.
IMPORTANTE: no sumerja el panel de control en agua.
• Seque todas las partes de la freidora por completo y ponga la cubeta, el filtro de impurezas,
el panel de control, el cestillo y la tapa en sus respectivas posiciones. Asegúrese de que la
cubeta esté en la posición correcta; las marcas de capacidad mínima y máxima deben estar a
la derecha.
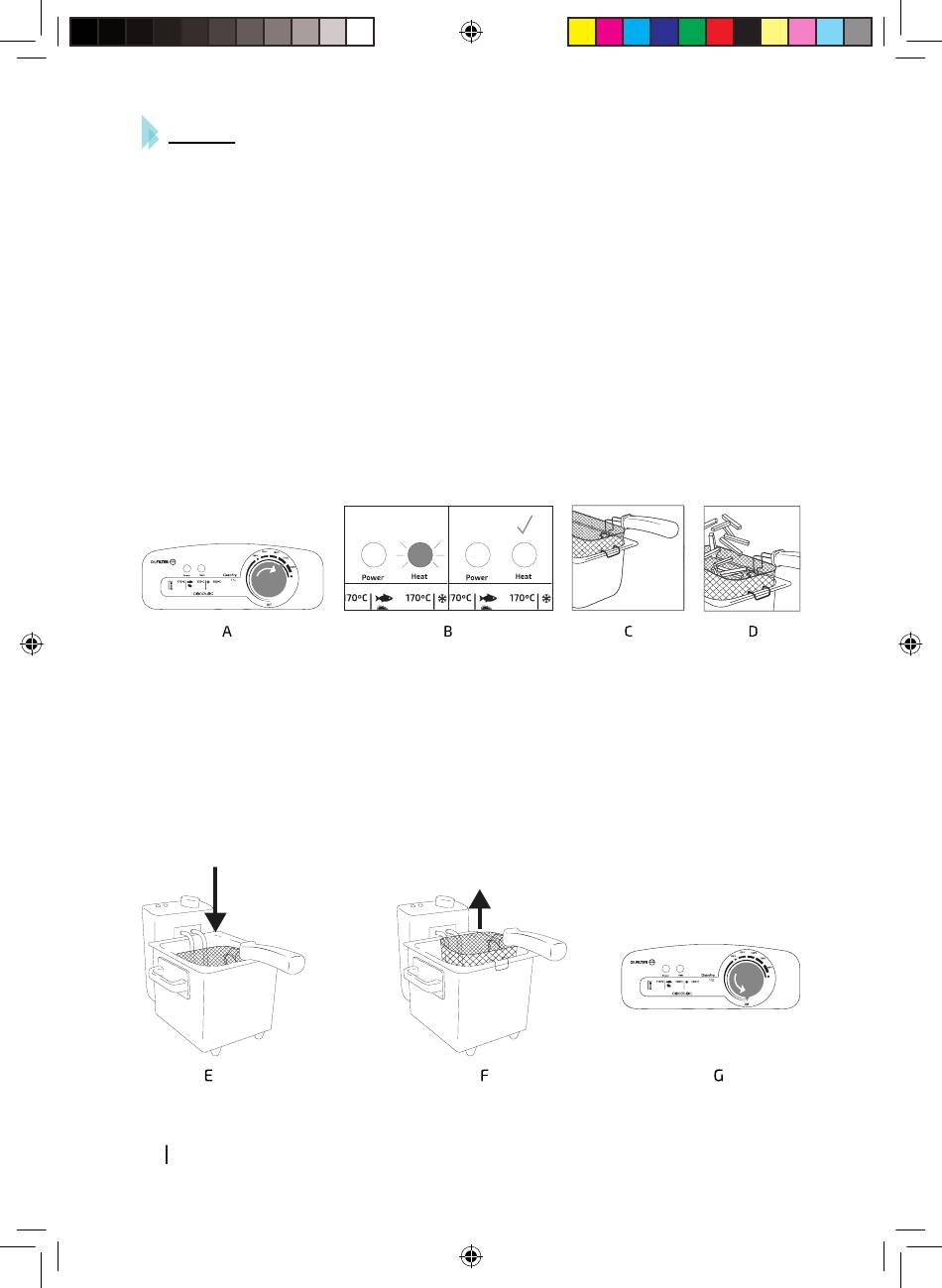
3. FUNCIONAMIENTO
• Retire la tapa y extraiga el cestillo de freír.
• Vierta aceite en la cubeta hasta alcanzar la señal de capacidad máxima.
• Tipos de aceite recomendados: aceite de oliva, aceite de maíz, aceite de cacahuete o aceite
vegetal. No use margarina o mantequilla.
NOTA: no enchufe el producto a la red eléctrica si no contiene aceite en la cubeta.
NOTA: no cierre la tapa mientras la freidora esté en funcionamiento.
A. Retire la tapa y enchufe la freidora a la fuente de alimentación. Gire el selector de temperatura
hasta la posición deseada.
B. Cuando el aceite alcance la temperatura seleccionada, la luz verde se apagará (no añada
comida hasta que el aceite alcance la temperatura seleccionada). La luz verde volverá a
encenderse cuando introduzca comida en el aceite y se apagará de nuevo cuando el aceite
alcance la temperatura seleccionada.
C. Cuelgue el cestillo en el borde de la cubeta (asegúrese de que el mango esté correctamente
colocado y seco).
D. Ponga comida en el cestillo (los alimentos deben estar tan secos como sea posible).
8
CLEANFRY 3 L FULL INOX
Manual Freidora CleanFry 3L Inox.indd 8
7/5/18 13:52
Inhaltsverzeichnis
loading

Inhaltsverzeichnis