Anmelden
Hochladen
Herunterladen
Inhalt
Inhalt
Zu meinen Handbüchern
Löschen
Teilen
URL dieser Seite:
HTML-Link:
Lesezeichen hinzufügen
Hinzufügen
Handbuch wird automatisch zu "Meine Handbücher" hinzugefügt
Diese Seite drucken
×
Lesezeichen wurde hinzugefügt
×
Zu meinen Handbüchern hinzugefügt
Anleitungen
Marken
Taurus Anleitungen
Home-Gym-Geräte
MS20 Pro
Montage- und bedienungsanleitung
Taurus MS20 Pro Montage- Und Bedienungsanleitung Seite 41
Vorschau ausblenden
1
2
Inhalt
3
4
5
6
7
8
9
10
11
12
13
14
15
16
17
18
19
20
21
22
23
24
25
26
27
28
29
30
31
32
33
34
35
36
37
38
39
40
41
42
43
44
45
46
47
48
49
50
51
52
53
54
55
56
Seite
von
56
Vorwärts
/
56
Inhalt
Inhaltsverzeichnis
Fehlerbehebung
Lesezeichen
Inhaltsverzeichnis
5.
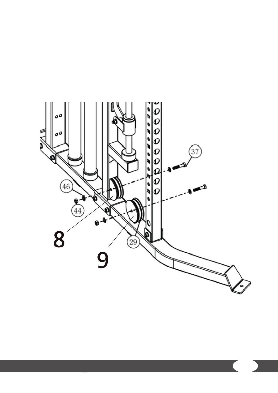
Befestigen Sie die zwei Umlenkrollen Nr. 8 und Nr. 9 (29) am Grundrahmen (1) mit jeweils einer
Schraube (37), zwei Unterlegscheiben (46) und einer Mutter (44).
6.
Wiederholen Sie diesen Schritt auf der anderen Seite.
41
Inhalt
sverzeichnis
Vorherige
Seite
Nächste
Seite
1
...
38
39
40
41
42
43
44
45
Inhaltsverzeichnis
Verwandte Anleitungen für Taurus MS20 Pro
Home-Gym-Geräte Taurus MS3 Smith Machine Montage- Und Bedienungsanleitung
(56 Seiten)
Home-Gym-Geräte Taurus MS15 Pro Half Rack und Smith Montage- Und Bedienungsanleitung
(48 Seiten)
Home-Gym-Geräte Taurus Kraftstation WS5 Montage- Und Bedienungsanleitung
(41 Seiten)
Home-Gym-Geräte Taurus Bio Force Trainingsanleitung
(60 Seiten)
Home-Gym-Geräte Taurus UltraForce Montage- Und Bedienungsanleitung
(52 Seiten)
Home-Gym-Geräte Taurus Elite Adj Roman Chair Montageanleitung
(40 Seiten)
Home-Gym-Geräte Taurus Smith Rack Montage- Und Bedienungsanleitung
(48 Seiten)
Verwandte Produkte für Taurus MS20 Pro
Taurus MS3 Smith Machine
Taurus MS15 Pro Half Rack und Smith
Taurus MS25 Pro
Taurus ALPATEC MSB 2000
Taurus MS60 Elite
Taurus MS35 Pro
Taurus MS50 Pro
Taurus MS40 Pro
Taurus MS45 Pro
Taurus MS65 ELITE
Taurus Mini Food
Taurus Mithos
Taurus MY TOAST
Taurus MAGNUM 1500
Taurus Mycook Next
Taurus Mycook GO
Diese Anleitung auch für:
Tf-ms20
Inhaltsverzeichnis
Drucken
Lesezeichen umbenennen
Lesezeichen löschen?
Möchten Sie es aus Ihren Handbüchern löschen?
Anmelden
Anmelden
ODER
Mit Facebook anmelden
Mit Google anmelden
Anleitung hochladen
Von PC hochladen
Von URL hochladen