×
Lesezeichen wurde hinzugefügt
×
Zu meinen Handbüchern hinzugefügt
2c-3
F
2c-4
F
E (2)
12
2015-09-09
F
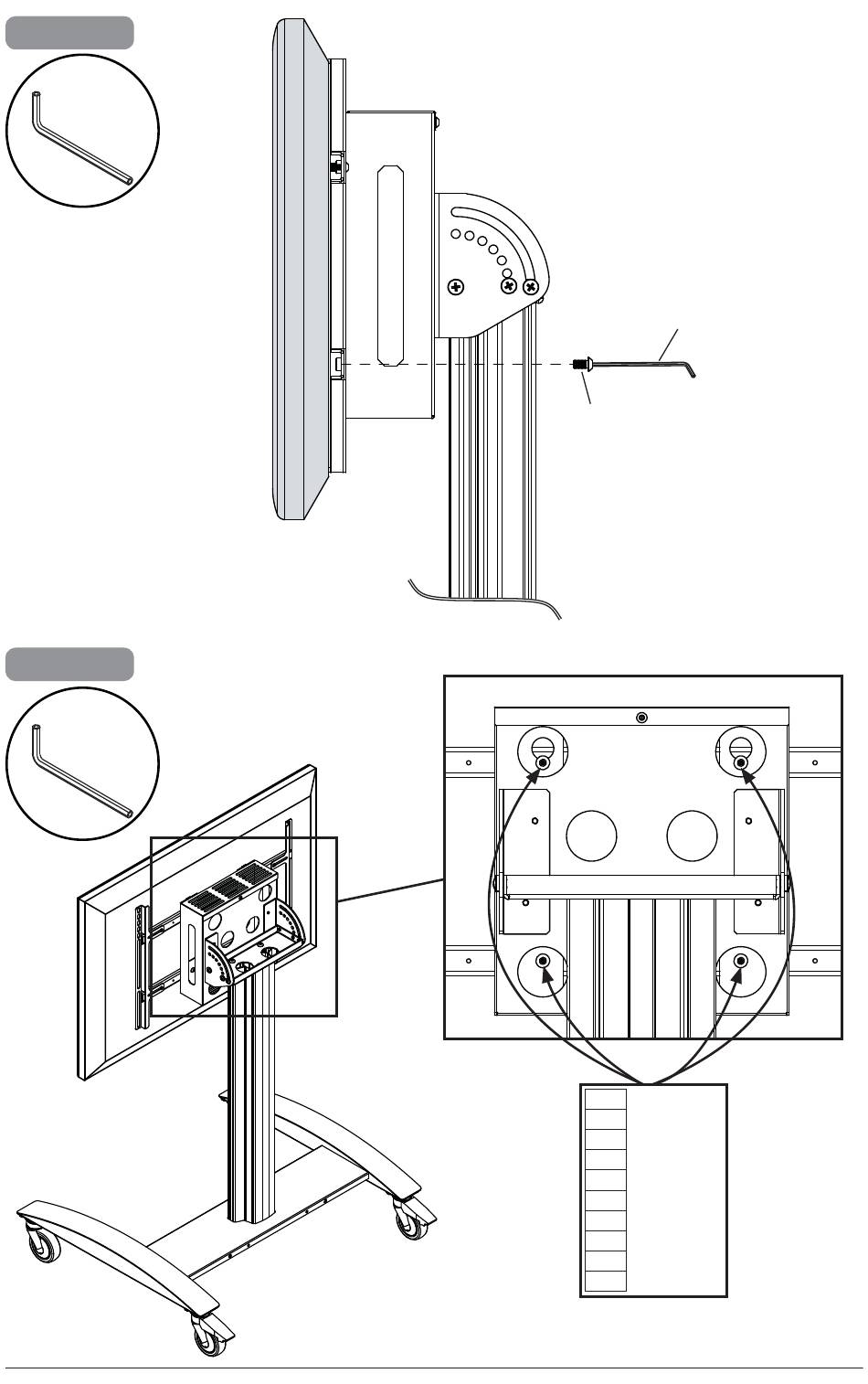
ENG
Tighten.
ESP
Apriete.
FRN
Serrez.
DEU
Anziehen.
Aandraaien.
NEL
Stringere.
ITL
Přitáhnout.
ČEŠ
Pritiahnuť.
SLK
Aperte.
POR
Sıkın.
TÜR
#:120-9202-2
(2015-10-26)
Verwandte Produkte für peerless-AV MOD-UNL2