Herunterladen Inhalt Inhalt Diese Seite drucken

Infinity Reference Flex 8D Bedienungsanleitung Seite 28

Inhaltsverzeichnis
Verfügbare Sprachen
  • DE

Verfügbare Sprachen

  • DEUTSCH, seite 13
技術仕様
T/S パラメータ
ボイスコイル直流抵抗:
R
ボイスコイル・インダクタンス@ 1KHZ:
L
ドライバー放射面積:
S
S
モーター力係数:
B
適合音量:
V
V
サスペンション・コンプライアンス:
C
移動質量、空気負荷:
M
最低共振周波数:
F
機械的 Q:
Q
電気的 Q:
Q
トータル Q:
Q
磁気ギャップの高さ:
H
H
ボイスコイルの高さ:
H
H
最大エクスカーション:
X
X
密閉型ボックスの体積(ドライバーの排除容積を含む)
(側面の表示)
V
= 0.93 ft
BOX
通気ボックスの体積(ドライバー/ポートの排除容積を含む)
(側面の表示)
(25.11 リットル)
V
= 0.9 ft
3
BOX
仕様
直径:
感度 (2.0V @ 1M):
許容入力:
周波数特性:
公称インピーダンス:
ボイスコイルの直径:
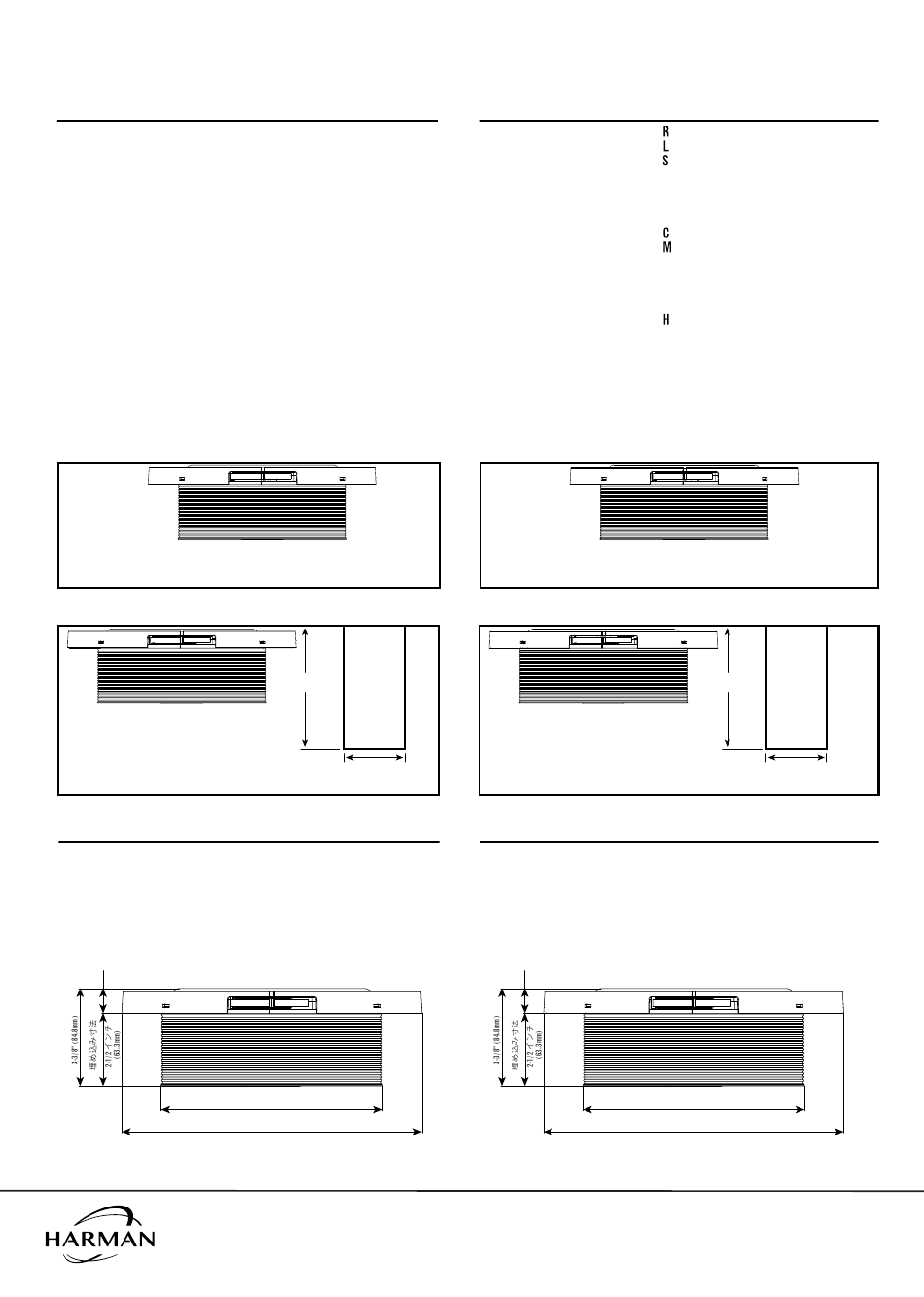
寸法:
埋め込み寸法
7/8 インチ (21.5mm)
7-9/16 インチ (192.0mm)
10-1/4 インチ (260.0mm)
ハーマンインターナショナルインダストリ
ーズ株式会社
(HARMAN International Industries, Inc.)
8500 Balboa Boulevard, Northridge,
CA 91329 USA
www.infinityspeakers.com
Flex 8D
2Ω
(
) . . . . . . . . 1.89 . . . . . . . . . 3.67
OHMS
EVC
(
H)
. . . . . . . . . . 0.4 . . . . . . . . .
M
EVC
2
(
) . . . . . . . . . . 31.16 . . . . . . . . 31.16
IN
D
2
(
). . . . . . . . . 201.06 . . . . . . . 201.06
CM
D
(T
)
. . . . .. . . . . . . 4.5 . . . . . . . . 8.846
L
M
(
3
) . . . . . . . . . 0.432 . . . . . . . . 0.444
FT
AS
(
) . . . . . . 12.228 . . . . . . . 12.571
LITERS
AS
/N) . . . . . . 214.00 . . . . . . . 220.00
M
MS
(
). . . . . . 71.32 . . . . . . . 71.557
GRAMS
MS
(H
) . . . . . . . . . . 40.8 . . . . . . . . . 40.1
Z
S
. . . . . . . . . . . . . 6.794 . . . . . . . . . 7.17
MS
. . . . . . . . . . . . .
1.704
. . . . . . . . 0.846
ES
. . . . . . . . . . . . .
1.363
. . . . . . . . 0.757
TS
(
) . . . . . . . . . . .
0.33
. . . . . . . . . 0.33
IN
AG
(
) . . . . . . . . . . . 8.5 . . . . . . . . . . 8.5
MM
AG
(
) . . . . . . . . . . . 0.58 . . . . . . . . . 0.58
IN
VC
(
) . . . . . . . . . . 14.7 . . . . . . . . . 14.7
MM
VC
(
) . . . . . . . . . . 0.12 . . . . . . . . . 0.12
IN
MAX
(
) . . . . . . . . . . 3.1 . . . . . . . . . . 3.1
MM
MAX
(26.35 リットル)
3
ポート
長さ = 255mm
f B = 34.44Hz
直径 = 76mm
8 インチ (200mm)
84dB
150W RMS (600W ピーク)
25HZ〜500HZ
2+2 または
1-9/16インチ(38.9mm)
カットアウト直径
外径
© 2016 HARMAN International Industries, Incorporated
(ハーマン・インターナショナル・インダストリーズ株式会社)。無断複写・転載を禁じます。
Infinity は、ハーマンインターナショナルインダストリーズ株式会社 (HARMAN International Industries,
Incorporated) の、米国および/またはその他の国々の登録商標です。
T/S パラメータ
4Ω
ボイスコイル直流抵抗:
ボイスコイル・インダクタンス@ 1KHZ:
1.62
ドライバー放射面積:
モーター力係数:
適合音量:
サスペンション・コンプライアンス:
移動質量、空気負荷:
最低共振周波数:
機械的 Q:
電気的 Q:
トータル Q:
磁気ギャップの高さ:
ボイスコイルの高さ:
最大エクスカーション:
密閉型ボックスの体積(ドライバーの排除容積を含む)
通気ボックスの体積(ドライバー/ポートの排除容積を含む)
(側面の表示)
(30.73 リットル)
V
= 1.08 ft
3
BOX
仕様
直径:
感度 (2.0V @ 1M):
許容入力:
周波数特性:
公称インピーダンス:
ボイスコイルの直径:
寸法:
埋め込み寸法
7/8 インチ (21.5mm)
(
) . . . . . . . . . . . . . . . . . . . . . 2.29
OHMS
EVC
(
H) . . . . . . . . . . . . . . . . . . . . . .0.576
M
EVC
2
(
) . . . . . . . . . . . . . . . . . . . . . . . . 31.16
IN
D
2
S
(
). . . . . . . . . . . . . . . . . . . . . . 201.06
CM
D
B
(T
)
. . . . . . . . . . . . . . . . . . . . . . . 5.236
L
M
V
(
3
) . . . . . . . . . . . . . . . . . . . . . . . 0.484
FT
AS
V
(
) . . . . . . . . . . . . . . . . . . . . 13.694
LITERS
AS
/N) . . . . . . . . . . . . . . . . . . . . 226.00
M
MS
(
). . . . . . . . . . . . . . . . . . . . 61.976
GRAMS
MS
F
(H
) . . . . . . . . . . . . . . . . . . . . . . . 41.3
Z
S
Q
. . . . . . . . . . . . . . . . . . . . . . . . . . 6.071
MS
Q
. . . . . . . . . . . . . . . . . . . . . . . . . . 1.345
ES
Q
. . . . . . . . . . . . . . . . . . . . . . . . . . 1.101
TS
(
) . . . . . . . . . . . . . . . . . . . . . . . . 0.33
IN
AG
H
(
) . . . . . . . . . . . . . . . . . . . . . . . 8.5
MM
AG
H
(
) . . . . . . . . . . . . . . . . . . . . . . . . 0.70
IN
VC
H
(
) . . . . . . . . . . . . . . . . . . . . . . . 17.8
MM
VC
X
(
) . . . . . . . . . . . . . . . . . . . . . . . 0.18
IN
MAX
X
(
) . . . . . . . . . . . . . . . . . . . . . . 4.65
MM
MAX
(側面の表示)
(11.03 リットル)
V
= 0.4 ft
3
BOX
長さ = 255mm
直径 = 76mm
8 インチ (200mm)
83dB
150W RMS (600W ピーク)
25HZ〜500HZ
2 または
1-9/16インチ(38.9mm)
カットアウト直径
7-9/16 インチ (192.0mm)
外径
10-1/4 インチ (260.0mm)
Flex 8S
2Ω
ポート
f B = 32.62Hz
Inhaltsverzeichnis
loading

Diese Anleitung auch für:

Reference flex 8s

Inhaltsverzeichnis