Herunterladen Diese Seite drucken

Rodcraft RC8035 Betriebsanleitung Seite 2

Technical Specifications / Technische Daten / Tekniset tiedot / Especificaciones Técnicas /
Τεχνικα χαρακτηριστικα /
techniques / Technische gegevens / EspecificaçõesTecnicas / Технические характеристики
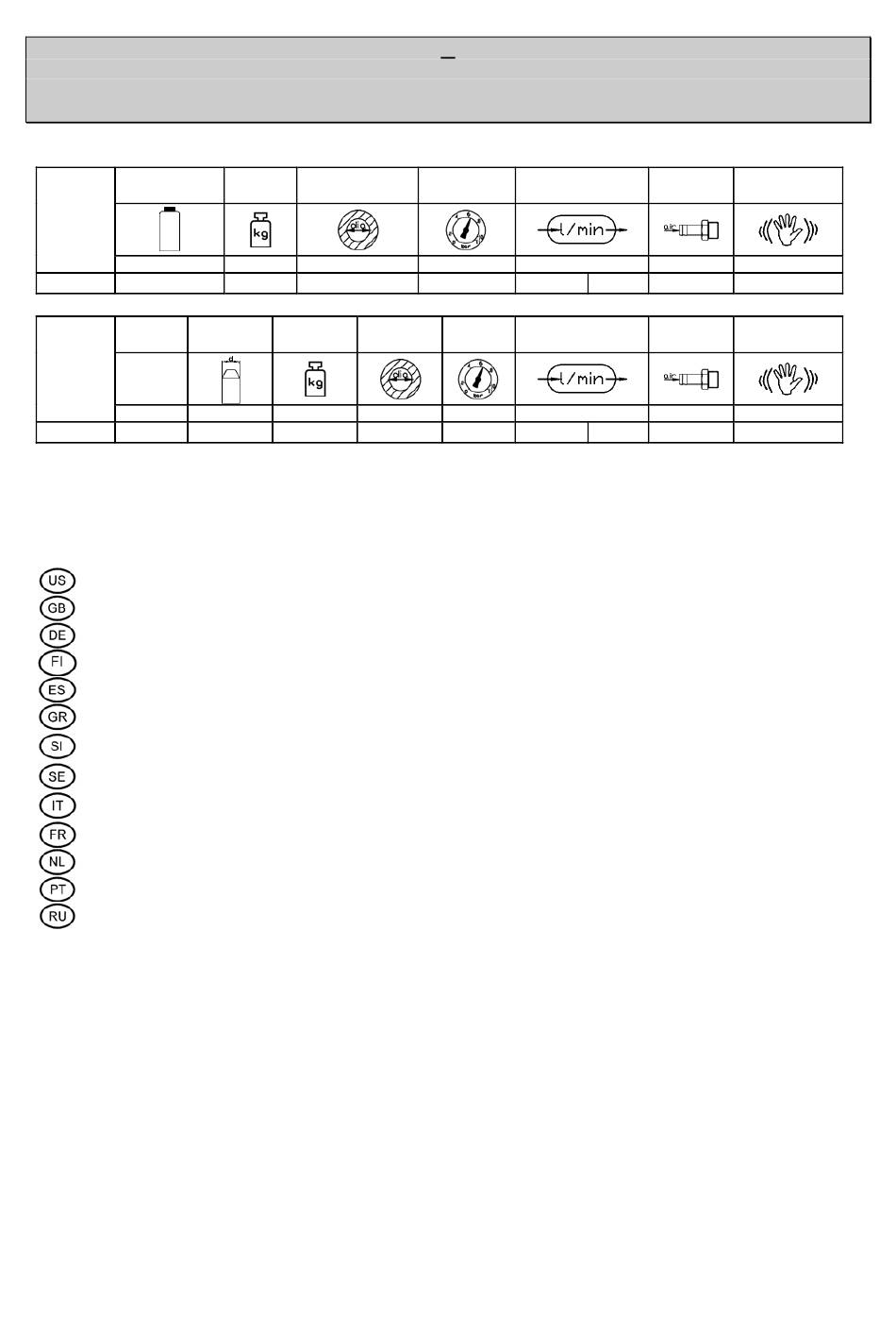
Model
Undercoating-
Can
under-
coating
[liter]
1
8035
Model
Tank / Cup
Capacity
V
cleaning
[liter]
1.0
8035
IG = Innengewinde / female thread
Sound level according to DIN 45635-20. Vibrations according to ISO 8662.
Geräuschmessung nach DIN 45635-20 und Vibrationsmessung nach ISO 8662
Melutaso DIN 45635-20 mukaan. Tärinätaso ISO 8662 mukaan.
Nivel sonoro según DIN 45635-20. Vibraciones según ISO 8662.
Εφαρµογη
standard
Merjenje zvoka je v skladu z DIN 45635-20, merjenje vibracij pa v skladu z ISO 8662.
Ljudnivå enligt DIN 45635-20. Vibrationer enligt ISO 8662.
Livello di rumorosità secondo DIN 45635-20 e vibrazione secondo ISO 8662
Mesures du niveau sonore d'après DIN 45635-20 et mesures des vibrations d'après ISO 8662
Geluidsmeting volgens DIN 45635-20 en vibratiemeting volgens ISO 8662.
Nível sonóro de acordo com a norma DIN 45635-20 e vibrações de acordo com a norma ISO 8662.
Измерение шума по стандарту DIN 45635-20, измерение вибрации по стандарту ISO 8662
Datei: T:\TE\BA\RC8035.doc
Tehnični
podatki / Tekniska Specifikationer / Dati tecnici / Spécificatons
Weight
Inner Hose Diameter
[kg]
[mm]
0.4
8
Nozzle
Weight
Inner Hose
Diameter
[mm]
[kg]
11
0.50
εθνικων
για µετρηση θορυβου και Ι
DIN 45635-20
1.
Max.
Air Consumption
Pressure
average – continuous
[bar]
6
195
Max.
Air Consumption
Pressure
average – continuous
[mm]
[bar]
8
2 - 15
230
AG = Außengewinde / male thread
SO 8662
Air
Inlet
[l/min]
[Inch]
280
1/4" IG
Air
Inlet
[l/min]
[Zoll]
330
1/4" IG
για µετρηση κραδασµων
1
Vibration
[m/s
]
2
<2.5
Vibration
[m/s
]
2
<2.5
Ver.: 1.03
loading