Herunterladen Inhalt Inhalt Diese Seite drucken

Tasten Und Anschlüsse; Beschreibung - Netally Linkrunner G2 Benutzerhandbuch

Smart network tester
Inhaltsverzeichnis
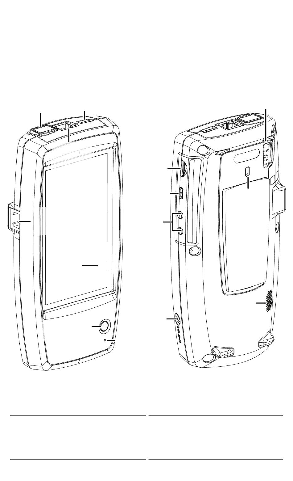
Tasten und Anschlüsse
Es folgt eine Beschreibung der Tasten- und
Anschlussfunktionen.
100/1000
BASE-X-Glasfaser-
anschluss
RJ-45
LAN-Anschluss
und LEDs für
die
Übertragung
RJ-45-Kabeltest/
Anschluss zur
Verdrahtungsprüfung
(WMAP)
Ein/Aus-Taste
und LED
Funktion
100/1000 BASE-X-
Glasfaseranschluss
USB-Anschluss
Micro-USB-
(On-the-Go,
Lautstärke-
Touchscreen
Ladegerät-
Anschluss
Mikrofon
Micro-SD-
Karten-
steckplatz
Anschluss
OTG)
tasten

Beschreibung

Für den Anschluss eines
SFP-Adapters und Glas-
faserkabels
15
Äußere Merkmale
Kamera
und Blitz
Kensington-
Diebstahlsicherung
Lautsprecher
Inhaltsverzeichnis
loading

Inhaltsverzeichnis