Anmelden
Hochladen
Herunterladen
Inhalt
Inhalt
Zu meinen Handbüchern
Löschen
Teilen
URL dieser Seite:
HTML-Link:
Lesezeichen hinzufügen
Hinzufügen
Handbuch wird automatisch zu "Meine Handbücher" hinzugefügt
Diese Seite drucken
×
Lesezeichen wurde hinzugefügt
×
Zu meinen Handbüchern hinzugefügt
Anleitungen
Marken
TDE Instruments Anleitungen
Multimeter
DPM962
Bedienungsanleitung
Leiterplatten Und Verbindungen Pcb And Links; Cartes De Circuits Imprimés Et Liaisons Circuito Impreso Y Enlaces Pcb E Collegamenti - Tde Instruments Dpm962 Bedienungsanleitung
Digitalmultimeter für schalttafeleinbau
Vorschau ausblenden
Andere Handbücher für DPM962
:
Bedienungsanleitung
(16 Seiten)
,
Bedienungsanleitung
(16 Seiten)
1
2
3
4
5
6
7
8
9
10
11
12
13
14
15
16
Seite
von
16
Vorwärts
/
16
Inhalt
Inhaltsverzeichnis
Lesezeichen
Inhaltsverzeichnis
Verfügbare Sprachen
DE
EN
FR
IT
ES
Mehr
Verfügbare Sprachen
DEUTSCH, seite 1
ENGLISH, page 4
FRANÇAIS, page 6
ITALIANO, pagina 10
ESPAÑOL, página 8
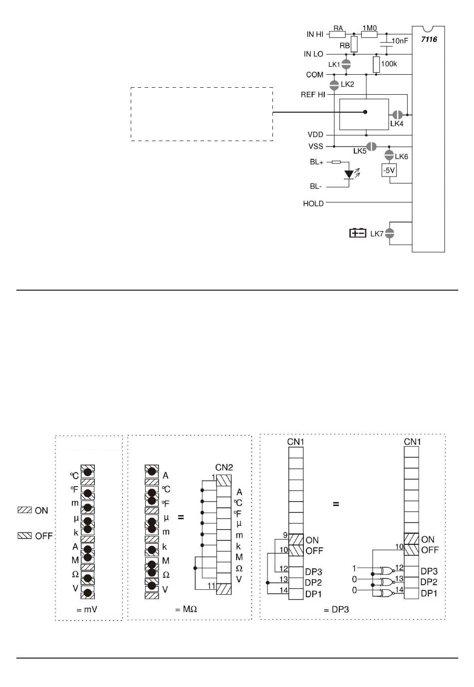
Leiterplatten und Verbindungen
PCB and Links
Cartes de circuits imprimés et liaisons
Circuito impreso y enlaces
PCB e collegamenti
Konfiguration Anzeigesymbole
Configuration Annunciator
Configuration de Tableaux indicateurs
Configuración de Avisadores
Configurazione di Segnalatori
DPM961
Präzisionsreferenzspannung
Precision Voltage Reference
Référence du potentiel de précision
Referencia de voltaje de precisión
Riferimento tensione dei precisione
DPM962
Konfiguration Dezimalpunkt
Configuration Decimal Point
Configuration Virgule Décimale
Configuración Punto Decimal
Configurazione Punto Decimale
12
Inhalt
sverzeichnis
Vorherige
Seite
Nächste
Seite
1
...
9
10
11
12
13
14
15
16
Inhaltsverzeichnis
Verwandte Anleitungen für TDE Instruments DPM962
Multimeter TDE Instruments DPM961 Bedienungsanleitung
(16 Seiten)
Multimeter TDE Instruments DPM961 Bedienungsanleitung
(16 Seiten)
Multimeter TDE Instruments DPM802 Bedienungsanleitung
(16 Seiten)
Multimeter TDE Instruments Digalox DPM72-MP+ Bedienungsanleitung
(8 Seiten)
Multimeter TDE Instruments Digalox DPM72-MPN Bedienungsanleitung
(8 Seiten)
Multimeter TDE Instruments Digalox DPM72-AV2 Bedienungsanleitung
Grafisches din-messgerät für volt und ampere (8 Seiten)
Multimeter TDE Instruments 104817 Bedienungsanleitung
Einbaumessgerät für 300v/333mv ac/dc (8 Seiten)
Verwandte Inhalte für TDE Instruments DPM962
DPM961 Leiterplatten Und Verbindungen Pcb And Links
TDE Instruments DPM961
DPM961 Links
TDE Instruments DPM961
Diese Anleitung auch für:
Dpm961
Dpm962-r
Dpm961-tg
Dpm962-ntg
Dpm961-ntg
Dpm962-ntr
...
Alle anzeigen
Dpm962-tg
Dpm961-ntr
Inhaltsverzeichnis
Drucken
Lesezeichen umbenennen
Lesezeichen löschen?
Möchten Sie es aus Ihren Handbüchern löschen?
Anmelden
Anmelden
ODER
Mit Facebook anmelden
Mit Google anmelden
Anleitung hochladen
Von PC hochladen
Von URL hochladen